- Partiron
- OEM Parts
- Yamaha
- motorcycle
- 1969
- R3 (R3) 1969
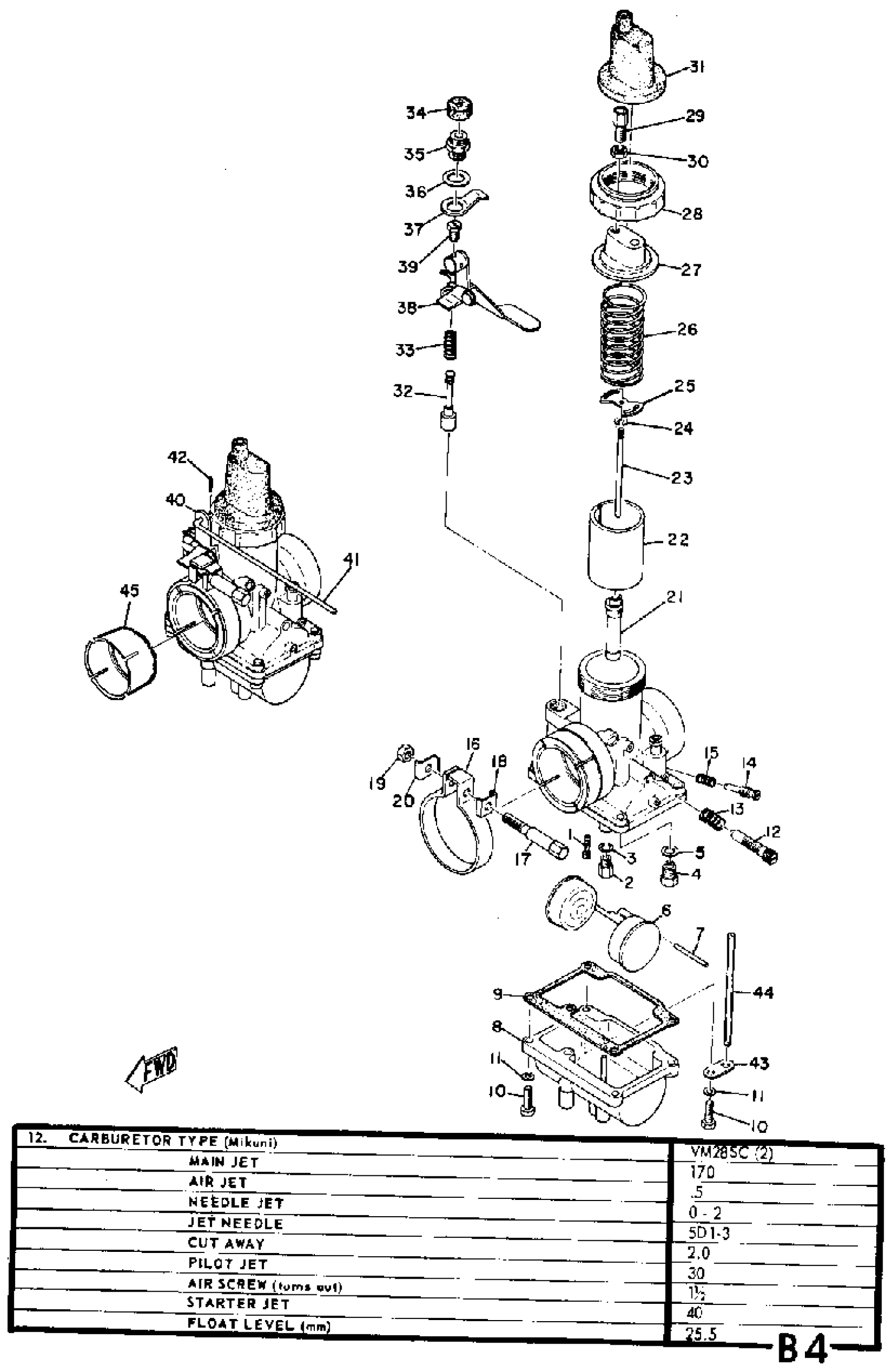
CARBURETOR
Yamaha R3 (R3) 1969 CARBURETOR Diagram
#
1
JET, PIL0T (# 30)
193-14142-30-A0
Unavailable
1
CARBURETOR ASSEMBLY 1
(211-14101-61-00)
Unavailable
2
JET, MAIN #180
137-14143-36-A1
Unavailable
2
CARBURETOR ASSEMBLY 2
(211-14102-61-00)
Unavailable
4
. NEEDLE VALVE ASSEMBLY
137-14190-20-00
Unavailable
6
FLOAT
(168-14185-00-00)
Unavailable
8
BODY, FLOAT CHMBR 1
(168-14181-01-00)
Unavailable
12
THROTTLE SCREW SET
40T-14103-00-00
Unavailable
13
SPRING, THROTTLE STOP
137-14133-00-00
Unavailable
14
AIR SCREW SET
23X-14104-00-00
Unavailable
15
SPRING, AIR ADJUSTING
127-14134-00-00
Unavailable
16
CLIP
(168-14127-00-00)
Unavailable
17
SCREW, BODY FITTING
(168-14125-02-00)
Unavailable
18
WASHER
(168-14128-00-00)
Unavailable
19
NUT, HOLDING
(168-14164-00-00)
Unavailable
20
WASHER
(168-14129-00-00)
Unavailable
21
NOZZLE, MAIN
(168-14141-32-00)
Unavailable
22
VALVE, THROTTLE 1
(211-14112-20-00)
Unavailable
22
VALVE, THROTTLE 2
(211-14113-20-00)
Unavailable
23
. NEEDLE
168-14116-01-00
Unavailable
24
CLIP
3FA-14137-00-00
Unavailable
25
SEAT, SPRING
(168-14136-00-00)
Unavailable
26
SPRING, THRTL VALVE
(168-14131-00-00)
Unavailable
27
TOP, MIXING CHAMBER
(211-14158-00-00)
Unavailable
28
CAP, MIXING CHAMBER
(168-14168-01-00)
Unavailable
29
CABLE ADJUST SCREW SET
12G-14106-00-00
Unavailable
30
NUT, WIRE ADJUSTING
127-14161-00-00
Unavailable
31
CAP
(156-14169-00-00)
Unavailable
32
PLUNGER, STARTER
132-14171-00-00
Unavailable
33
SPRING, PLUNGER
156-14135-00-00
Unavailable
34
COVER, PLUNGER CAP
132-14173-00-00
Unavailable
35
CAP, PLUNGER
(132-14174-00-00)
Unavailable
36
WASHER, STARTER LVR
(132-14179-00-00)
Unavailable
37
. PLATE, STARTER LEVER
(170-14178-00-00)
Unavailable
37
. PLATE, STARTER LEVER
(170-14178-00-00)
Unavailable
38
LEVER, STARTER 1
(168-14175-01-00)
Unavailable
39
SCREW, ROD
(193-14486-00-00)
Unavailable
40
LEVER, STARTER 2
(168-14176-00-00)
Unavailable
41
ROD, STARTER LEVER
(170-14177-00-00)
Unavailable
42
. PIN, COTTER
91490-12012-00
Unavailable
43
PLATE
132-14146-00-00
Unavailable
44
PIPE, AIR VENT
183-14197-01-00
Unavailable
45
INSULATOR
168-14156-00-00
Unavailable
