- Partiron
- OEM Parts
- Yamaha
- motorcycle
- 1979
- QT50F (QT50) 1979
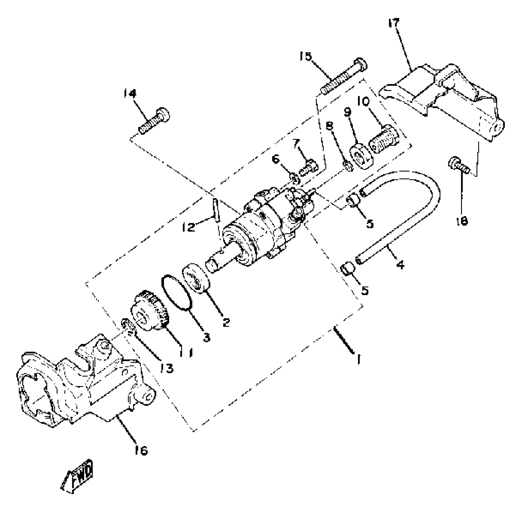
OIL PUMP
Yamaha QT50F (QT50) 1979 OIL PUMP Diagram
#
Description
Price
1
OIL PUMP ASSY
3L5-13101-01-00
Unavailable
9
NUT
90170-10105-00
Unavailable
10
BOLT, UNION (527 CKD)
90401-10029-00
Unavailable
11
GEAR, WORM WHEEL (56T)
3L5-13124-00-00
Unavailable
13
CIRCLIP
99080-07600-00
Unavailable
14
SCREW, PAN HEAD
98580-05020-00
Unavailable
16
COVER, OIL PUMP
17J-15416-00-00
Unavailable
17
COVER, OIL PUMP 2
3L5-15426-00-00
Unavailable
18
SCREW, PANHEAD TAPPING (682)
97780-50514-00
Unavailable
