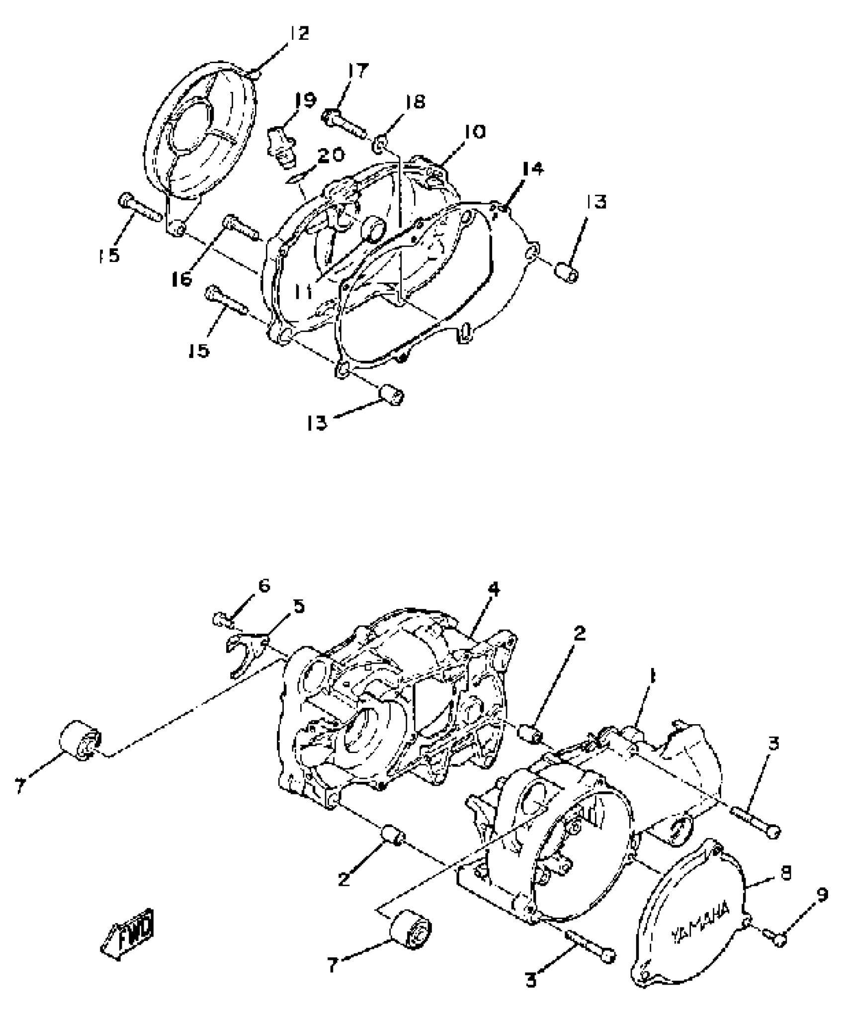
Yamaha QT502G (QT502) BH18742 1980 CRANKCASE Diagram
#
Description
Price
1
CRANKCASE 1
(3L5-15111-00-00)
Unavailable
4
CRANKCASE 2
3L5-15121-00-00
Unavailable
5
HOLDER
3L5-15128-00-00
Unavailable
6
SCREW, PAN HEAD(62J)
97885-06012-00
Unavailable
7
DAMPER, ENG MOUNT 1
(3L6-15316-00-00)
Unavailable
8
COVER, GENERATOR
3L5-15415-00-00
Unavailable
9
SCREW, PAN HEAD(6B0)
97885-05016-00
Unavailable
10
COVER, CRANKCASE R
3L5-15421-00-00
Unavailable
12
PROTECTOR
3L5-15491-00-00
Unavailable
15
SCREW, PAN HEAD(6H4)
97885-06035-00
Unavailable
16
SCREW, PAN HEAD (76T)
98517-06025-00
Unavailable
17
BOLT, FLANGE
95817-08035-00
Unavailable
18
WASHER, PLATE 3411117500
90201-08087-00
Unavailable
19
PLUG, OIL
4J2-15363-10-00
Unavailable
20
O-RING (26H)
93210-14579-00
Unavailable
