Partiron

Yamaha PZ50VTYS (VENTURE LITE) 8GJ5 2009 STARTING MOTOR Diagram

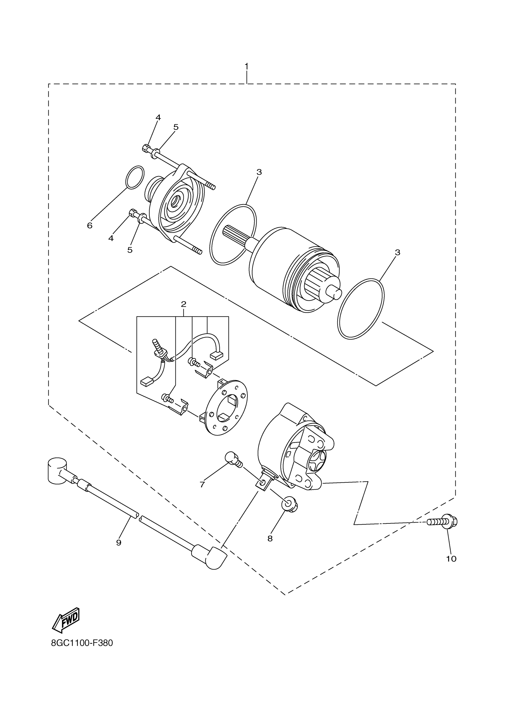
#

Description
Price

1

MOTOR ASSY

8GC-81890-02-00

Unavailable

2

BRUSH SET

8GC-81801-00-00

Unavailable

3

O-RING(50M)

93210-55669-00

$8.49

4

SCREW

8GC-81846-00-00

$5.60

5

WASHER, PLAIN

8GC-8181L-00-00

$4.88

6

O-RING(1RL)

93210-25711-00

$7.49

7

SCREW 2

5PW-81828-00-00

Unavailable

8

NUT

95380-05700-00

Unavailable

9

CORD COMP.

8GC-8183G-00-00

Unavailable

10

BOLT, FLANGE

95817-06025-00

Unavailable