- Partiron
- OEM Parts
- Yamaha
- snowmobile
- 2013
- PZ50VTDR (VENTURE LITE) 8GJD 2013
TRACK SUSPENSION 2
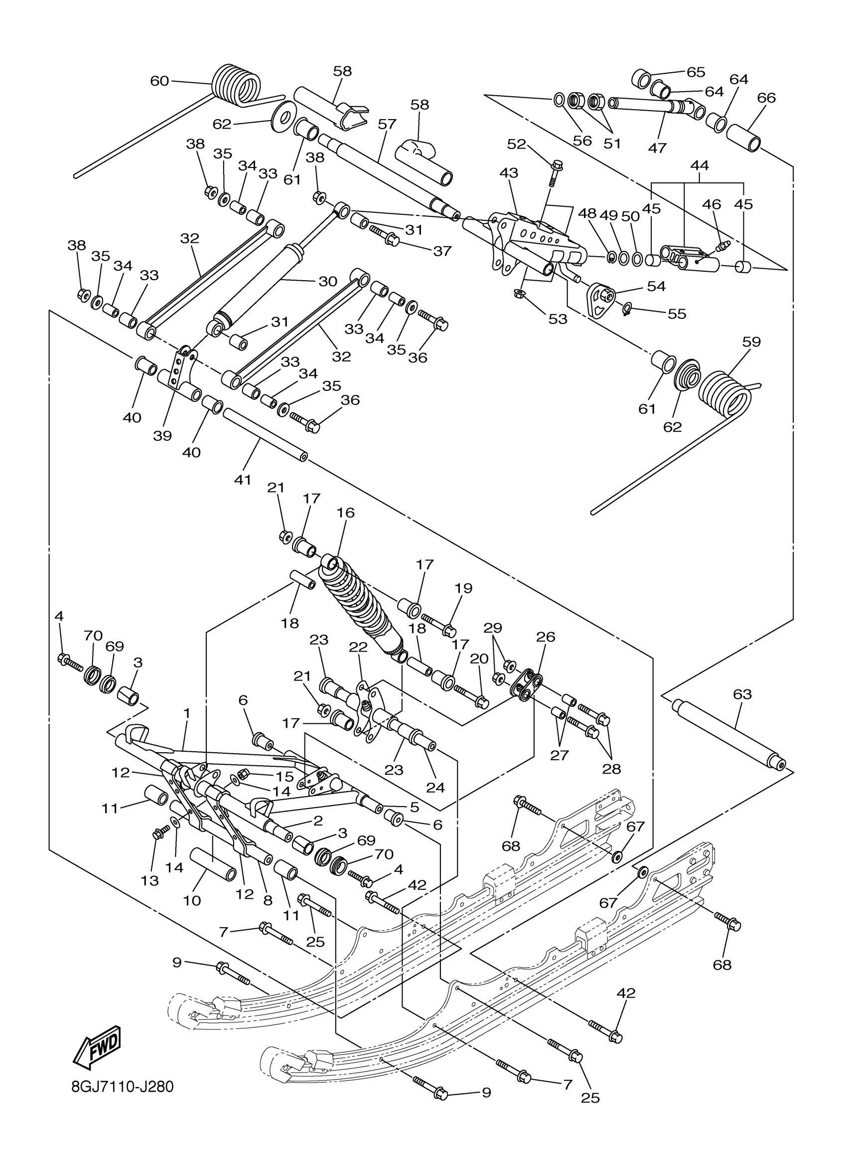
Yamaha PZ50VTDR (VENTURE LITE) 8GJD 2013 TRACK SUSPENSION 2 Diagram
#
1
ARM, PIVOT 1
8GJ-47331-10-00
Unavailable
2
SHAFT 1
8GJ-47465-10-00
Unavailable
16
SHOCK ABSORBER 2
8GJ-47481-20-00
Unavailable
17
BUSH, SOLID(8CM)
90381-14101-00
Unavailable
18
COLLAR (8U7)
90387-105G5-00
Unavailable
19
BOLT, FLANGE (8V9)
95812-10045-00
Unavailable
20
BOLT(88R)
90101-10738-00
Unavailable
21
NUT, S/L FLANGE
95602-10200-00
Unavailable
22
BRACKET, ARM PIVOT
8ES-47349-01-00
Unavailable
23
BUSH
90386-20001-00
Unavailable
24
SHAFT 5
8GN-47487-00-00
Unavailable
26
BRACKET 2
8FK-47416-01-00
Unavailable
27
COLLAR
90387-10024-00
Unavailable
28
BOLT, FLANGE (8V9)
95812-10045-00
Unavailable
29
NUT, S/L FLANGE
95602-10200-00
Unavailable
30
SHOCK ABSORBER
8GJ-47480-20-00
Unavailable
31
COLLAR
90387-10023-00
Unavailable
32
ROD, RELAY
8FK-47494-00-00
Unavailable
33
BUSH
90386-16001-00
Unavailable
34
COLLAR (8K4)
90387-101A1-00
Unavailable
35
WASHER, PLATE
90201-10043-00
Unavailable
36
95812-10090
95812-10090-00
Unavailable
37
BOLT, FLANGE
95812-10040-00
Unavailable
38
NUT, S/L FLANGE
95602-10200-00
Unavailable
39
BRACKET, ARM PIVOT
8FK-47349-10-00
Unavailable
40
BUSH
90386-20001-00
Unavailable
41
SHAFT 5
8ES-47487-00-00
Unavailable
43
ARM, PIVOT 2
8ET-47332-01-00
Unavailable
44
STOPPER, CONT. 1
8ES-4745D-00-00
Unavailable
45
BUSH, SOLID
90380-24001-00
Unavailable
46
NIPPLE, GREASE
93700-06M03-00
Unavailable
47
ROD, CONTROL 1
8ET-4745A-00-00
Unavailable
48
CIRCLIP
99009-24400-00
Unavailable
49
WASHER, PLATE
90201-24015-00
Unavailable
50
WASHER, PLATE
90202-25001-00
Unavailable
51
STOPPER, ADJUSTING NUT
8ES-48142-00-00
Unavailable
52
BOLT, FLANGE(87Y)
95817-10055-00
Unavailable
53
NUT, S/L FLANGE
95602-10200-00
Unavailable
54
HOOK 2
8ES-47447-00-00
Unavailable
55
CIRCLIP(13H)
99009-14400-00
Unavailable
56
WASHER, PLATE
90202-25002-00
Unavailable
57
SHAFT 2
8GJ-47475-00-00
Unavailable
58
PROTECTOR
8ES-47445-00-00
Unavailable
59
SPRING, REAR 1
8ET-47473-00-00
Unavailable
59
SPRING, REAR 1
8ET-47473-20-00
Unavailable
59
SPRING, REAR 1
8ET-47473-30-00
Unavailable
60
SPRING, REAR 2
8ET-47474-00-00
Unavailable
60
SPRING, REAR 2
8ET-47474-20-00
Unavailable
60
SPRING, REAR 2
8ET-47474-30-00
Unavailable
61
BUSH, SOLID(8CJ)
90381-28108-00
Unavailable
62
PLATE, GUIDE
8ES-47467-00-00
Unavailable
63
SHAFT, PIVOT
8ES-47337-00-00
Unavailable
64
BUSH
90386-25001-00
Unavailable
65
COLLAR
90387-26002-00
Unavailable
66
COLLAR
90387-26003-00
Unavailable
67
WASHER, PLATE
90201-10028-00
Unavailable
68
BOLT, FLANGE
95817-10030-00
Unavailable
69
OIL SEAL(37F)
93108-37011-00
Unavailable
70
SPACER
8HF-47341-00-00
Unavailable
