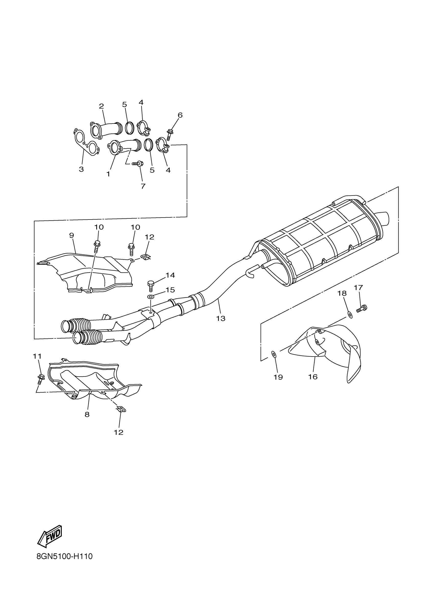
Yamaha PZ50RTZO (PHAZER RTX) 8GN70 2010 EXHAUST Diagram
#
Description
Price
1
JOINT, EXHAUST 1
8GC-14615-01-00
Unavailable
2
JOINT, EXHAUST 2
8GC-14625-01-00
Unavailable
6
BOLT
90109-06031-00
Unavailable
8
COVER, EXHAUST
8GC-14627-01-00
Unavailable
9
EXHAUST COVER ASS'Y
8GC-14637-00-00
Unavailable
13
SILENCER ASSY
8GC-14750-02-00
Unavailable
16
CAP
8GC-14799-00-00
Unavailable
17
SCREW, WITH WASHER
90159-06005-00
Unavailable
18
WASHER, PLATE
90201-05037-00
Unavailable
19
WASHER, PLATE
90201-05015-00
Unavailable
