Partiron

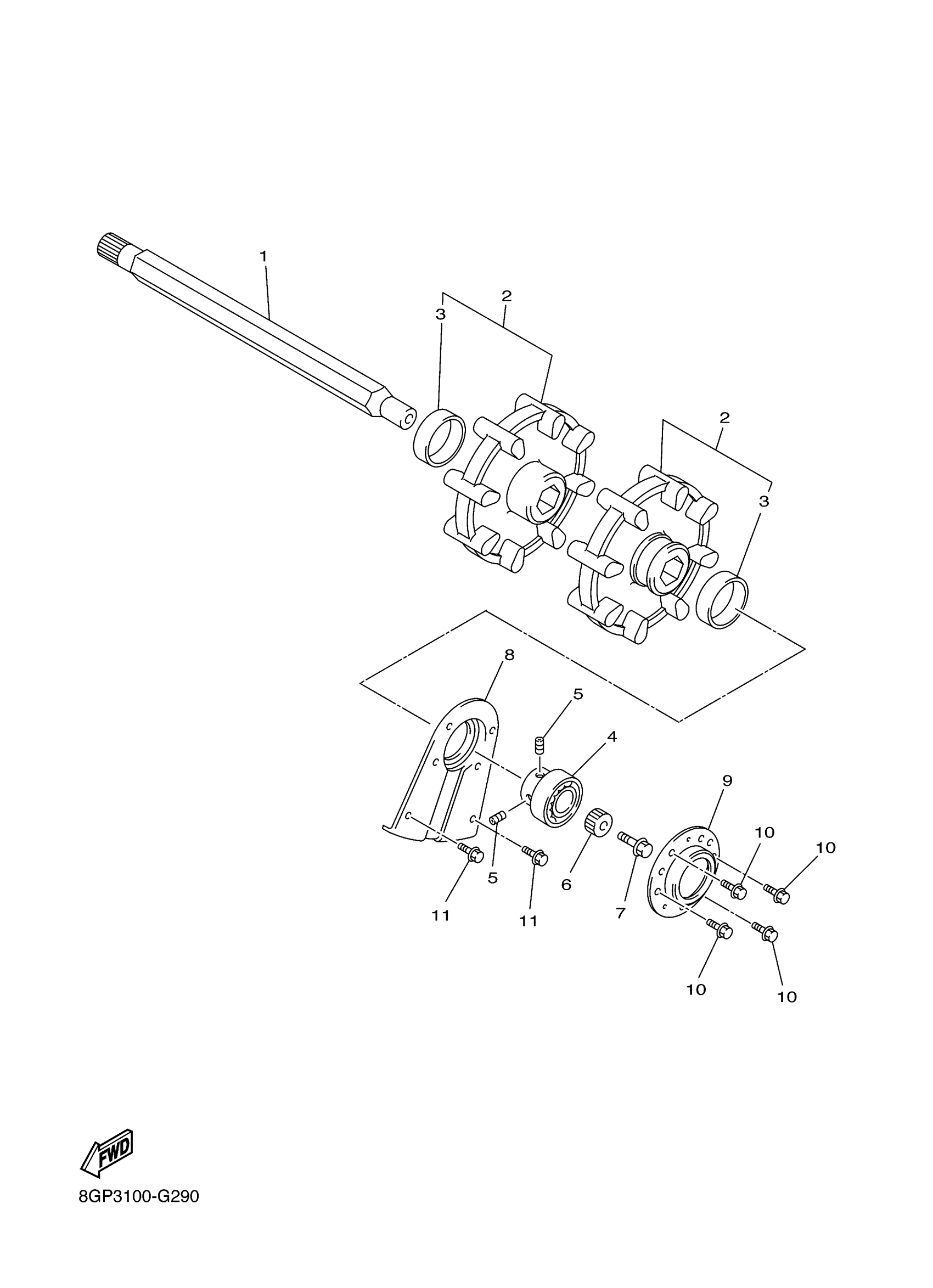
Yamaha PZ50MTXW (PHAZER MTX) 8GP30 2008 TRACK DRIVE 1 Diagram

#

Description
Price

1

AXLE, FRONT

8GK-47511-00-00

Unavailable

2

WHEEL, SPROCKET 1

8BF-W4753-00-00

Unavailable

3

COLLAR(83R)

90387-514Y2-00

$20.99

4

BEARING(8CJ)

93306-20589-00

$59.99

5

BOLT, SET

90113-06006-00

$4.29

6

JOINT

8EK-47715-00-00

$35.99

7

BOLT, FLANGE(3GD)

95817-10025-00

$8.49

8

HOUSING, REINF SUB-ASSY(L.H)

8GC-21920-00-00

Unavailable

9

HOUSING, FRONT AXLE

8EK-47551-00-00

$10.99

10

BOLT, FLANGE

90105-08168-00

$1.22

11

BOLT, FLANGE(8AB)

95817-08020-00

$9.49