- Partiron
- OEM Parts
- Yamaha
- snowmobile
- 2007
- PZ50FXW (PHAZER FX) 8GN1 2007
TRACK SUSPENSION 2
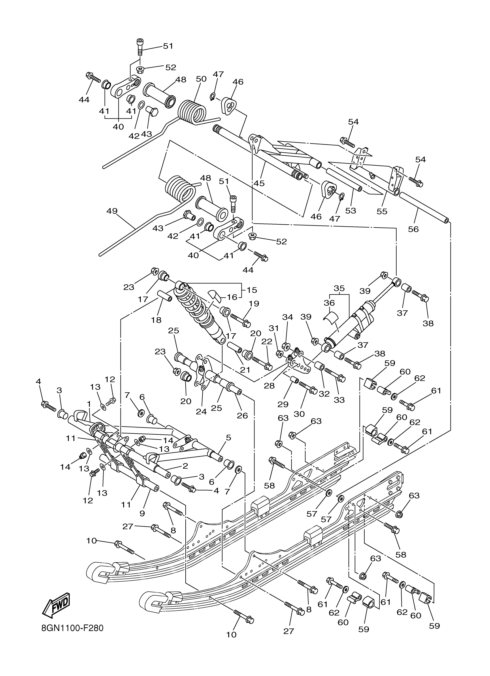
Yamaha PZ50FXW (PHAZER FX) 8GN1 2007 TRACK SUSPENSION 2 Diagram
#
1
ARM, PIVOT 1
8GC-47331-01-00
Unavailable
2
SHAFT 1
8GC-47465-00-00
Unavailable
5
SHAFT 4
8GC-47486-00-00
Unavailable
15
SHOCK ABSORBER 2
8GN-47481-00-00
Unavailable
16
LABEL, WARNING
4AA-22259-60-00
Unavailable
17
COLLAR
90387-15009-00
Unavailable
18
COLLAR
90387-10054-00
Unavailable
19
BOLT, FLANGE
95812-10060-00
Unavailable
20
BUSH, SOLID(8CM)
90381-14101-00
Unavailable
21
COLLAR (8U7)
90387-105G5-00
Unavailable
22
BOLT(88R)
90101-10738-00
Unavailable
23
NUT, S/L FLANGE
95602-10200-00
Unavailable
24
BRACKET, ARM PIVOT
8ES-47349-01-00
Unavailable
26
SHAFT 5
8ES-47487-00-00
Unavailable
28
BRACKET 2
8GC-47416-01-00
Unavailable
29
COLLAR
90387-10024-00
Unavailable
30
BOLT, FLANGE (8V9)
95812-10045-00
Unavailable
31
NUT, S/L FLANGE
95602-10200-00
Unavailable
32
COLLAR
90387-12022-00
Unavailable
33
BOLT, FLANGE
95817-12050-00
Unavailable
34
NUT, SELF-LOCKING
95602-12200-00
Unavailable
35
SHOCK ABSORBER
8GN-47480-00-00
Unavailable
36
LABEL, WARNING
4AA-22259-60-00
Unavailable
37
COLLAR
90387-10023-00
Unavailable
38
BOLT, FLANGE
95812-10040-00
Unavailable
39
NUT, S/L FLANGE
95602-10200-00
Unavailable
40
ARM, REAR PIVOT 1
8GC-47361-00-00
Unavailable
41
BUSH, SOLID
90381-20002-00
Unavailable
42
WASHER, PLATE(3HN)
90201-225M9-00
Unavailable
43
NUT
8GC-47368-00-00
Unavailable
44
BOLT, FLANGE
95812-12030-00
Unavailable
45
ARM, PIVOT 2
8GC-47332-02-00
Unavailable
46
HOOK 2
8ES-47447-00-00
Unavailable
47
CIRCLIP(13H)
99009-14400-00
Unavailable
48
PROTECTOR
8GC-47445-00-00
Unavailable
49
SPRING, REAR 1
8GC-47473-00-00
Unavailable
50
SPRING, REAR 2
8GC-47474-00-00
Unavailable
51
BOLT, SOCKET
91317-08045-00
Unavailable
52
NUT, SELF-LOCKING
95602-08200-00
Unavailable
53
SHAFT 6
8GC-47488-00-00
Unavailable
54
BOLT, FLANGE
95817-10030-00
Unavailable
55
BRACKET 3
8GC-47417-00-00
Unavailable
56
SHAFT 3
8FU-47485-00-00
Unavailable
57
WASHER PLATE (789)
90201-10136-00
Unavailable
58
BOLT, FLANGE
95817-10030-00
Unavailable
59
STOPPER 2
8GC-47496-00-00
Unavailable
60
COLLAR
8GN-47338-00-00
Unavailable
61
BOLT, HEXAGON
97017-10050-00
Unavailable
62
WASHER, PLATE(52H)
90201-105J4-00
Unavailable
63
NUT, S/L FLANGE
95602-10200-00
Unavailable
