- Partiron
- OEM Parts
- Yamaha
- snowmobile
- 2001
- PZ500MLF (PHAZER MOUNTAIN LITE) 8EG2 2001
ALTERNATE (ELECTRICAL)
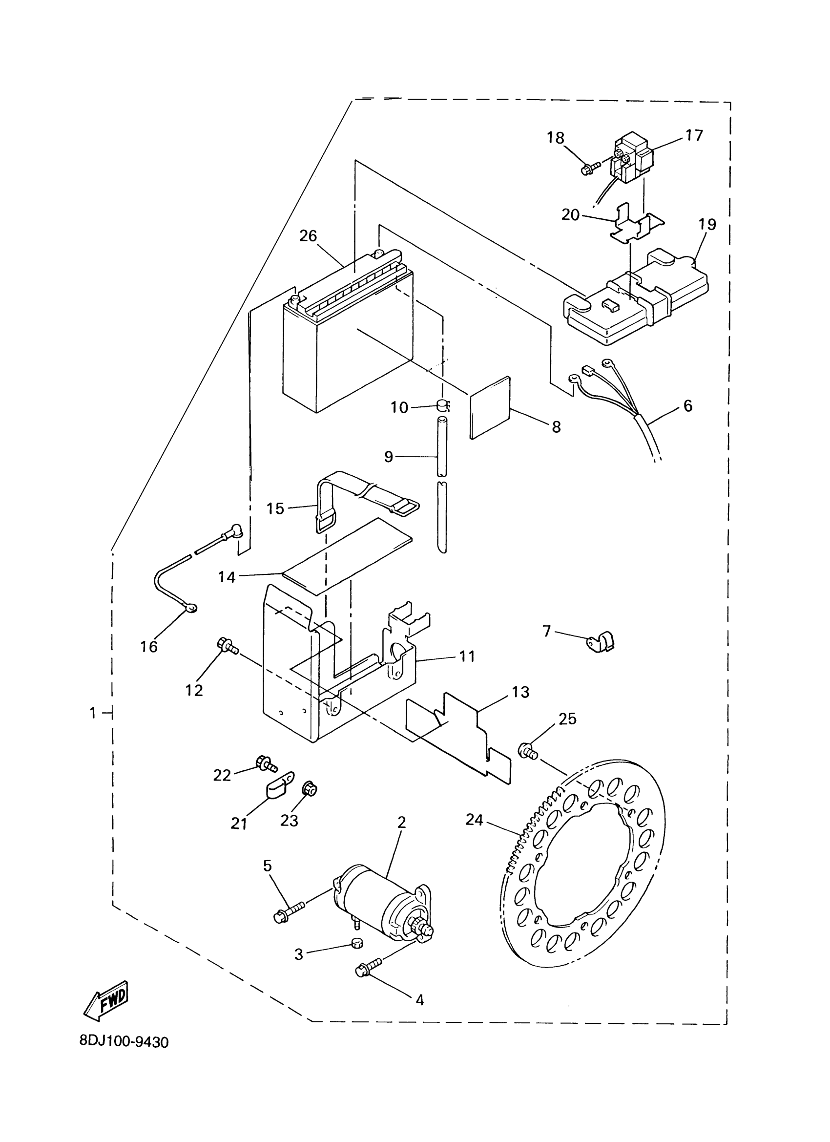
Yamaha PZ500MLF (PHAZER MOUNTAIN LITE) 8EG2 2001 ALTERNATE (ELECTRICAL) Diagram
#
Description
Price
1
ELECTRIC STARTER KIT
8DJ-W8180-00-KT
Unavailable
2
STARTING MOTOR ASSY
8CW-81800-01-00
Unavailable
5
BOLT, FLANGE(4ES)
95027-08080-00
Unavailable
6
HARNESS, WIRE
8DX-82105-00-00
Unavailable
7
CLAMP
90462-10242-00
Unavailable
8
DAMPER
8CW-82176-00-00
Unavailable
9
PIPE (L320)
8CW-8235W-01-00
Unavailable
13
SHIELD, HEAT
8DX-2199H-00-00
Unavailable
16
WIRE, PLUS LEAD
8DY-82115-00-00
Unavailable
17
STARTER RELAY ASSY (RC19-016)
3EL-81940-02-00
Unavailable
18
BOLT, SMALL FLANGE
95027-06008-00
Unavailable
19
COVER, BATTERY
8DX-82129-01-00
Unavailable
20
. HOLDER, RELAY
8CY-81952-00-00
Unavailable
21
CLAMP(83R)
90461-08113-00
Unavailable
22
BOLT, FLANGE
95817-06014-00
Unavailable
23
NUT,SELF-LOCKING
95607-06200-00
Unavailable
24
GEAR 1
8DM-1760A-18-00
Unavailable
25
SCREW, CROSSRECESSED ROUND
90150-08008-00
Unavailable
26
YB16ALA2 YUASA BATTERY
YB1-6ALA2-00-00
Unavailable
