- Partiron
- OEM Parts
- Yamaha
- snowmobile
- 1999
- PZ500C (PHAZER 500) 8DJ1 1999
ENGINE BRACKET
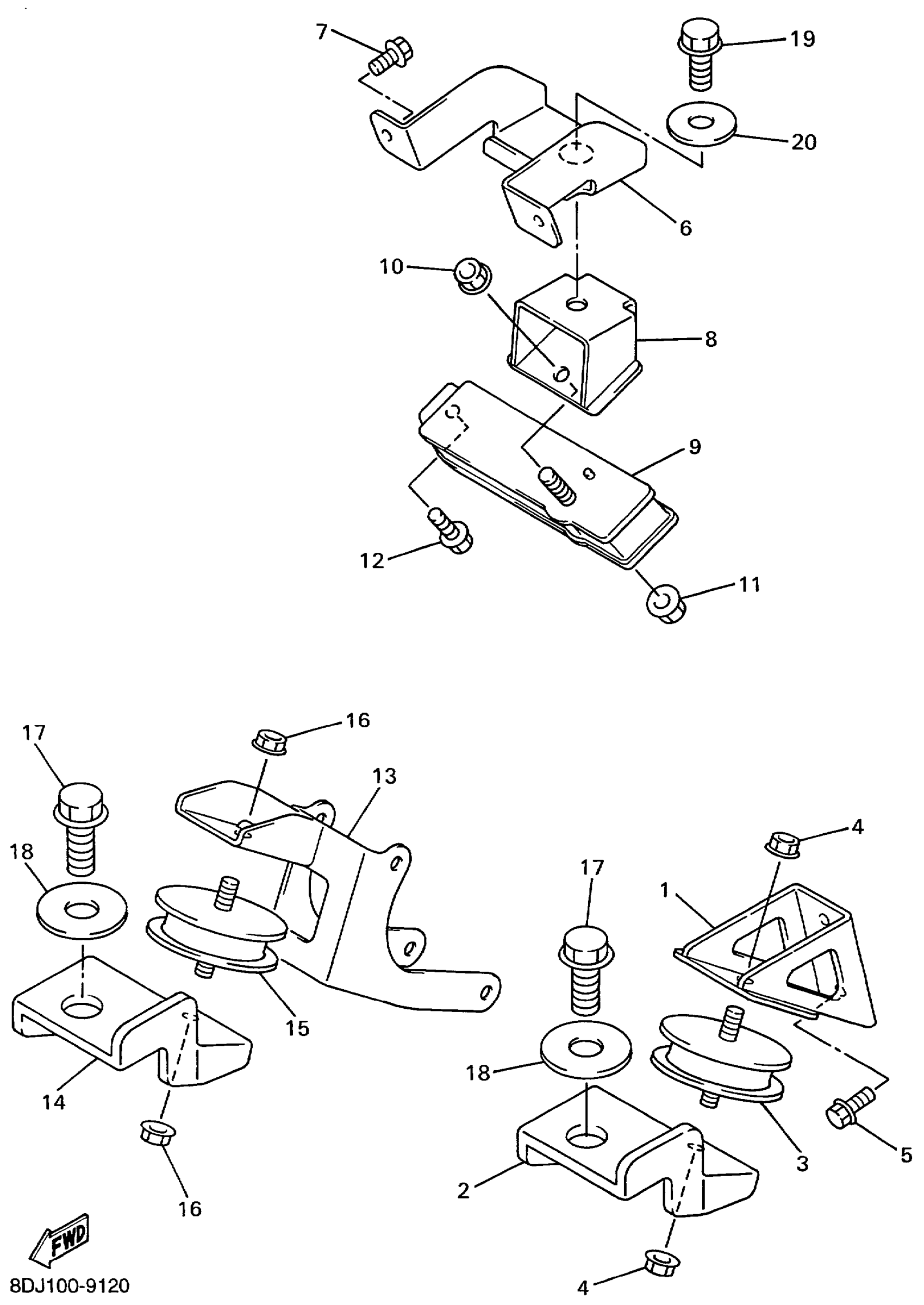
Yamaha PZ500C (PHAZER 500) 8DJ1 1999 ENGINE BRACKET Diagram
#
Description
Price
2
BRACKET, FRONT LOWER 1
8DJ-21417-00-00
Unavailable
6
BRACKET, REAR UPPER 1
8DJ-21425-00-00
Unavailable
8
BRACKET, REAR LOWER 1
8DJ-21427-00-00
Unavailable
9
DAMPER
8DJ-21488-00-00
Unavailable
14
BRACKET, FRONT LOWER 1
8DJ-21417-00-00
Unavailable
17
BOLT, FLANGE(JN5)
95817-12030-00
Unavailable
18
WASHER, PLATE
90201-120U9-00
Unavailable
19
BOLT, FLANGE(3GD)
95817-10025-00
Unavailable
20
WASHER, PLATE (856)
90201-10321-00
Unavailable
