- Partiron
- OEM Parts
- Yamaha
- snowmobile
- 1995
- PZ480V (PHAZER II) 8BF2 1995
ELECTRICAL 2
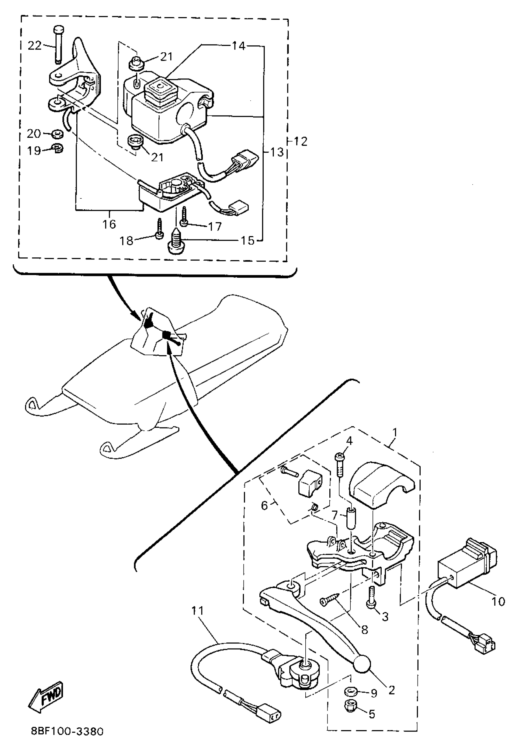
Yamaha PZ480V (PHAZER II) 8BF2 1995 ELECTRICAL 2 Diagram
#
Description
Price
3
SCREW, PAN HEAD(41N)
90157-05057-00
Unavailable
4
SCREW
8R4-82113-00-00
Unavailable
6
. LEVER LOCK ASSEMBLY (8K4-83930-00-00)
82A-83930-00-00
Unavailable
7
COLLAR, LEVER
802-83913-00-00
Unavailable
8
. SCREW, TAPPING
97780-30312-00
Unavailable
9
. WASHER, PLAIN
92990-05200-00
Unavailable
16
THUMB WARMER ASSY
8AU-82970-03-00
Unavailable
17
SCREW, TAPPING(88J)
97706-30620-00
Unavailable
18
SCREW, PAN TAP.2 SLIT
97707-30630-00
Unavailable
19
CIRCLIP (EU0)
99080-04600-00
Unavailable
20
WASHER, SPECIAL
85G-83663-00-00
Unavailable
21
CAP 1
85G-83956-00-00
Unavailable
22
SHAFT
88T-8399F-00-00
Unavailable
