- Partiron
- OEM Parts
- Yamaha
- snowmobile
- 1994
- PZ480U (PHAZER II) 8BF1 1994
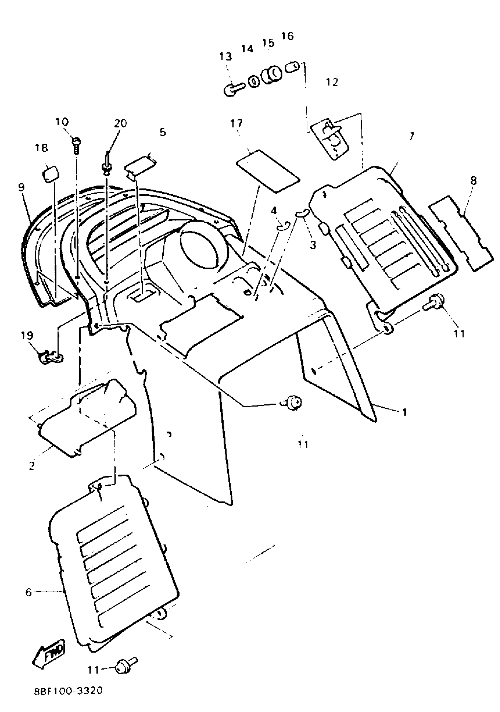
INSTRUMENT PANEL
Yamaha PZ480U (PHAZER II) 8BF1 1994 INSTRUMENT PANEL Diagram
#
Description
Price
1
PANEL, INSTRUMENT
8X9-77711-01-00
Unavailable
2
PANEL, INSTRUMENT
8X9-77712-01-00
Unavailable
3
INDICATOR 1
8U9-77741-00-00
Unavailable
4
INDICATOR 2
8U9-77742-00-00
Unavailable
5
GROMMET, INSTRUMENT PANEL
8X9-77740-00-00
Unavailable
6
LOUVER 1
8X9-77131-00-00
Unavailable
7
LOUVER 2
8X9-77132-00-00
Unavailable
8
REFLECTOR 1
8V0-7716E-00-00
Unavailable
9
SHIELD 1
8V0-77731-00-00
Unavailable
11
SCREW, WITH WASHER
90159-05137-00
Unavailable
12
BRACKET 1
80L-77721-00-00
Unavailable
16
COLLAR (26H)
90387-053H3-00
Unavailable
17
LABEL,WARNING 1
87M-77761-10-00
Unavailable
18
SHIELD 1
81H-77731-00-00
Unavailable
19
CLAMP
90462-10007-00
Unavailable
20
RIVET(8BE)
90269-07071-00
Unavailable
