- Partiron
- OEM Parts
- Yamaha
- snowmobile
- 1984
- PZ480SEH (PHAZER SE (ELEC START)) 1984
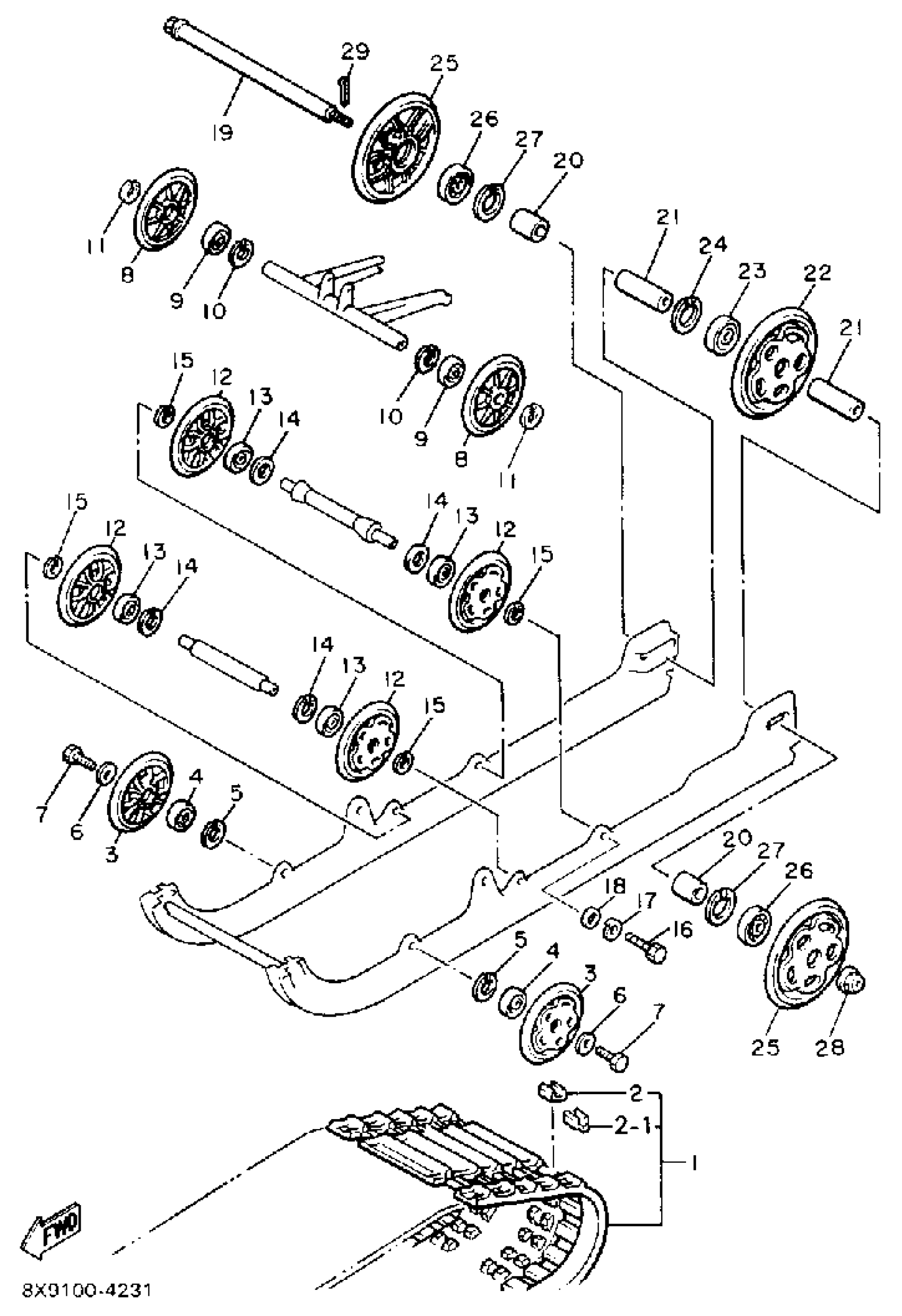
TRACK SUSPENSION 1
Yamaha PZ480SEH (PHAZER SE (ELEC START)) 1984 TRACK SUSPENSION 1 Diagram
#
Description
Price
1
TRACK ASY
8V0-47110-00-00
Unavailable
2
METAL, SLIDE
8A5-47115-00-00
Unavailable
3
SUSPENSION WHEEL COMP.
87U-47320-00-00
Unavailable
16
BOLT (682)
97013-08025-00
Unavailable
17
YBS67-8 WASHER, SPRING
92990-08100-00
Unavailable
18
.. WASHER, PLATE
92990-08600-00
Unavailable
19
REAR AXLE COMP.
8L8-47520-02-00
Unavailable
20
COLLAR
90387-202H9-00
Unavailable
21
COLLAR
90387-20022-00
Unavailable
22
GUIDE WHEEL COMP.
8K2-47530-00-00
Unavailable
23
BRG,R-B 62042RS 47MM 110G KY
93306-20417-00
Unavailable
24
CIRCLIP(48Y)
99009-47500-00
Unavailable
25
GUIDE WHEEL COMP.
8M6-47530-00-00
Unavailable
26
BRG,R-B 62042RS 47MM 110G KY
93306-20417-00
Unavailable
27
CIRCLIP(48Y)
99009-47500-00
Unavailable
28
NUT, SELF-LOCKING (8BF)
95607-14200-00
Unavailable
29
PIN, COTTER
91490-30030-00
Unavailable
