Partiron

Yamaha PZ480S (PHAZER II) 89F1 1992 SEAT Diagram

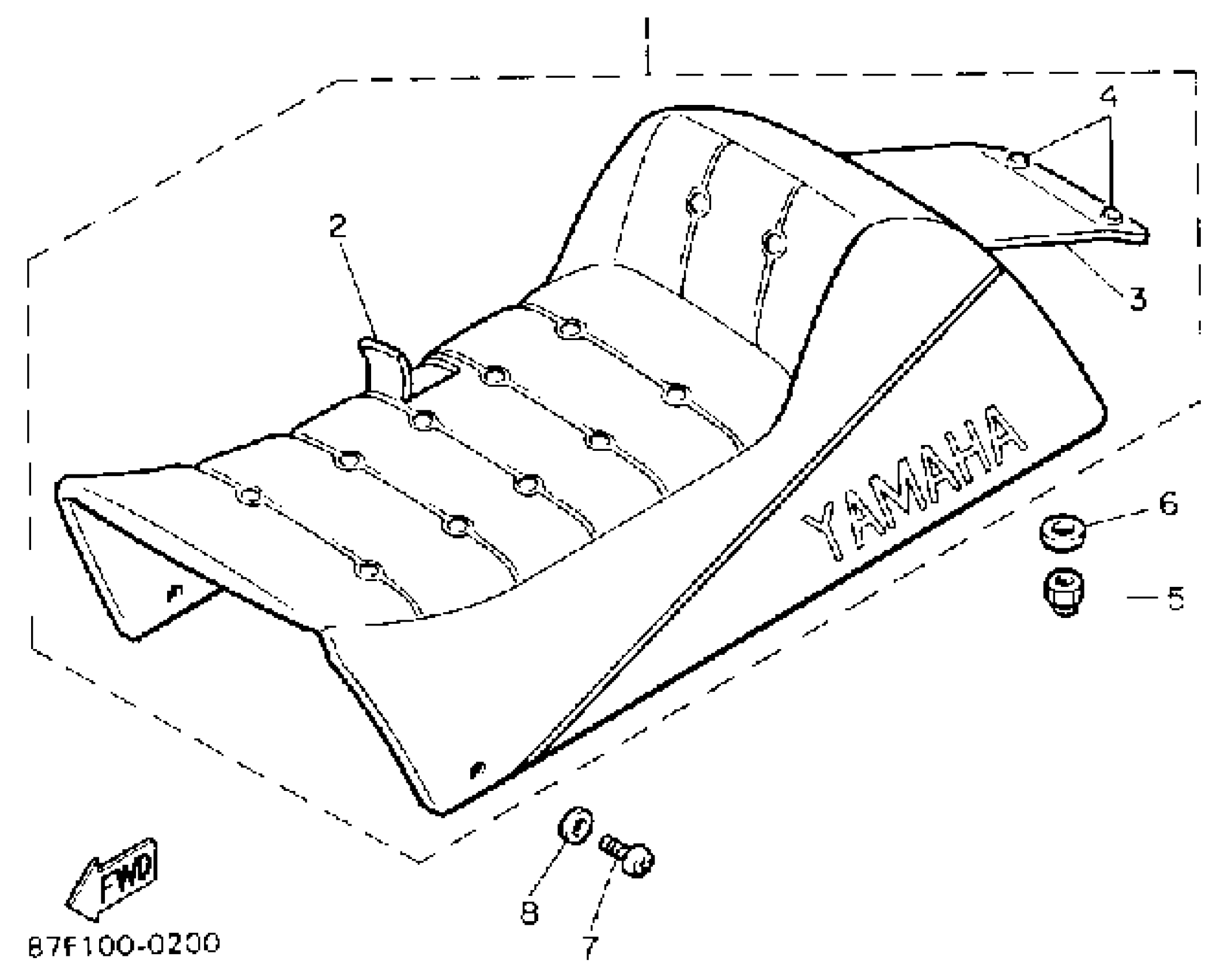
#

Description
Price

1

SINGLE SEAT ASY

89F-24710-02-00

Unavailable

2

COVER,SEAT

89F-2470F-01-00

Unavailable

3

. COVER, LUGGAGE BOX 2

8U9-77377-01-00

Unavailable

4

HOOK, SEAT

87E-24754-00-00

$15.49

5

NUT, NYLON

95717-08300-00

$2.70

6

WASHER, PLATE (4W3)

90201-086A3-00

$8.49

7

SCREW, BINDING

98907-06020-00

$8.49

8

WASHER, PLATE(36Y)

90201-063J2-00

$5.60