- Partiron
- OEM Parts
- Yamaha
- snowmobile
- 1985
- PZ480J (PHAZER) 1985
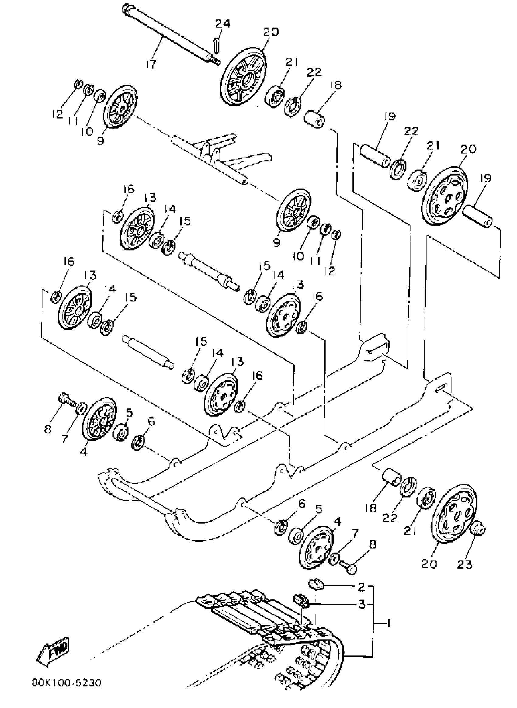
TRACK SUSPENSION 1
Yamaha PZ480J (PHAZER) 1985 TRACK SUSPENSION 1 Diagram
#
Description
Price
1
TRACK ASY
8V0-47110-00-00
Unavailable
3
METAL, SLIDE
8A5-47115-00-00
Unavailable
17
REAR AXLE COMP.
8L8-47520-02-00
Unavailable
18
COLLAR
90387-202H9-00
Unavailable
19
COLLAR
90387-20022-00
Unavailable
20
GUIDE WHEEL COMP.
8K2-47530-00-00
Unavailable
21
BRG,R-B 62042RS 47MM 110G KY
93306-20417-00
Unavailable
22
CIRCLIP(48Y)
99009-47500-00
Unavailable
23
NUT, SELF-LOCKING (8BF)
95607-14200-00
Unavailable
24
PIN, COTTER
91490-30030-00
Unavailable
