Yamaha PZ480EP (PHAZER II LE (ELEC START)) 87H1 1990 WINDSHIELD Diagram
#
Description
Price
1
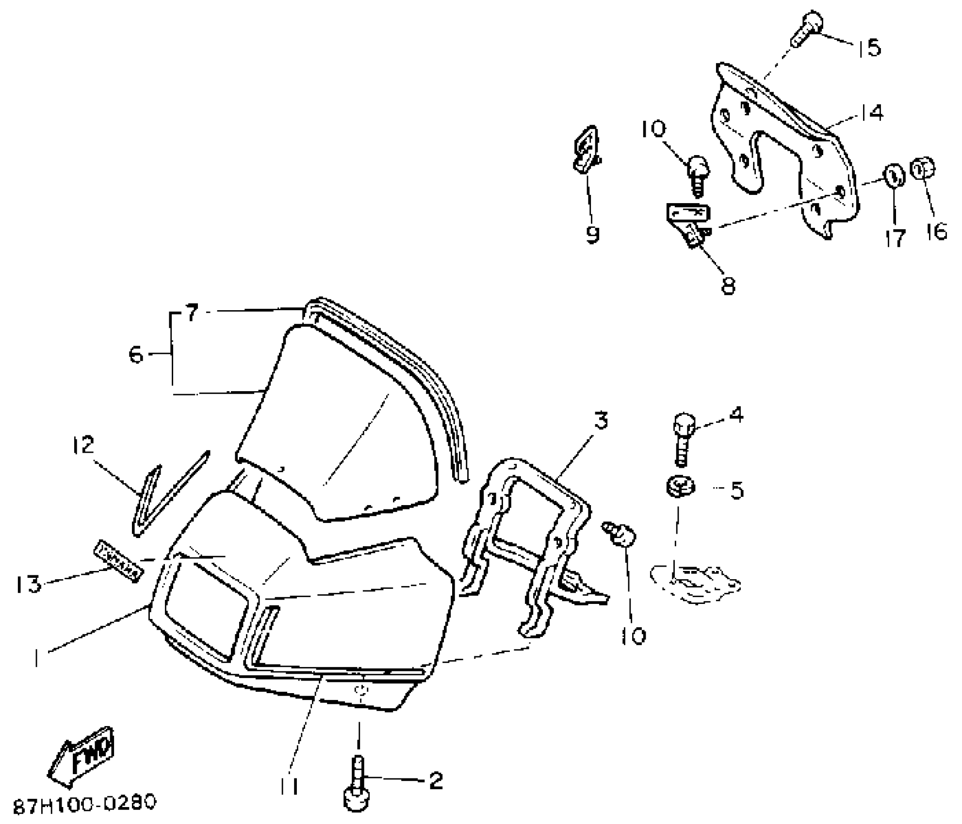
FAIRING
80L-77231-01-00
Unavailable
1
FAIRING 1
86F-77231-00-00
Unavailable
3
STAY, FAIRING
8V0-77241-00-00
Unavailable
5
WASHER, SPRING
92995-06100-00
Unavailable
6
WINDSHIELD
8BH-77210-00-XX
Unavailable
7
TRIM,UPPER
87K-77213-00-00
Unavailable
8
WASHER 1
8X9-77218-00-00
Unavailable
9
WASHER 2
8X9-77219-00-00
Unavailable
11
STRIPE 8
87H-77288-00-00
Unavailable
12
STRIPE 9
87H-77289-00-00
Unavailable
14
COVER, HEADLIGHT
8X9-77251-00-00
Unavailable
15
SCREW, BINDING (8J0)
90154-05005-00
Unavailable
16
NUT, CROWN(8V0)
90176-05059-00
Unavailable
17
WASHER PLATE (664)
90201-05556-00
Unavailable
