Yamaha PZ480EL (PHAZER DELUXE (ELEC START)) 1987 SKI Diagram
#
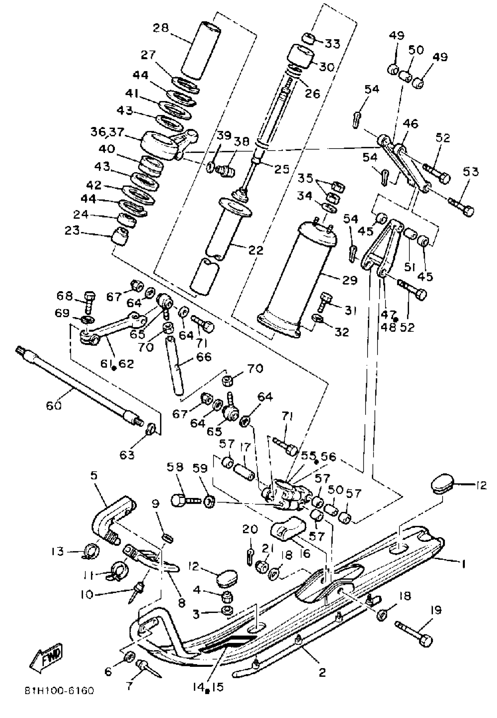
1
SKI 1
8V0-23710-02-00
Unavailable
2
SKI RUNNER,1
VMX-23731-01-XX
Unavailable
3
.. WASHER, PLATE
92990-08600-00
Unavailable
5
PROTECTOR, SKI
8M6-23747-00-00
Unavailable
8
PROTECTOR, SKI 2
8V0-23748-00-00
Unavailable
12
CAP 1
8V0-23741-00-00
Unavailable
14
EMBLEM 10
82K-77365-00-00
Unavailable
15
EMBLEM 11
82K-77366-00-00
Unavailable
16
STOPPER 1
8V0-23743-01-00
Unavailable
17
COLLAR (8V0)
90387-106J3-00
Unavailable
18
WASHER(6TA)
92907-10600-00
Unavailable
19
BOLT, WITH HAUL (31A)
90102-10050-00
Unavailable
20
PIN, COTTER
91490-20025-00
Unavailable
21
NUT, NYLON
95707-10300-00
Unavailable
22
CYLINDER, SHOCK ABSABSORBER
8V0-22471-00-00
Unavailable
23
SEAT, SPRING 1
8V0-23768-00-00
Unavailable
24
BEARING, SPECIAL
93399-99908-00
Unavailable
25
ABSORBER ASSEMBLY (8V0-2376A-00)
80L-2376A-00-00
Unavailable
26
SPRING, COMPRESSION
90501-60718-00
Unavailable
27
STOP, REBOUND
8V0-22494-00-00
Unavailable
28
PROTECTOR
8V0-2376R-00-00
Unavailable
29
HOLDER, ABSORBER
8V0-2376J-00-00
Unavailable
30
BUMP, STOP
8V0-22493-00-00
Unavailable
31
BOLT, HEXAGON
97017-06020-00
Unavailable
32
WASHER, SPRING
92907-06100-00
Unavailable
33
CUSHION
8V0-2386J-00-00
Unavailable
34
WASHER, PLAIN
92990-08200-00
Unavailable
35
. NUT
95380-08700-00
Unavailable
36
ARM, OUTSIDE 1
8V0-23851-01-00
Unavailable
37
ARM, OUTSIDE 2
8V0-23852-01-00
Unavailable
38
NIPPLE, GREASE
93700-06M03-00
Unavailable
39
WASHER, PLATE (8U7)
90201-067F9-00
Unavailable
40
BUSH, BIMETAL FORMED
90384-63188-00
Unavailable
41
WASHER, PLATE
90201-637F3-00
Unavailable
42
WASHER, PLATE
90201-635H7-00
Unavailable
43
OIL SEAL
93109-63044-00
Unavailable
44
CIRCLIP
93410-63066-00
Unavailable
45
BUSH, BIMETAL FORMED (8L0)
90384-14091-00
Unavailable
46
ARM, FRONT 1
8V0-2382E-01-00
Unavailable
47
ARM, FRONT 2 (L, H)
8V0-2382F-02-00
Unavailable
48
ARM, FRONT4 (R, H)
8V0-2383F-02-00
Unavailable
49
BUSH, BIMETAL FORMED (8L0)
90384-14096-00
Unavailable
50
COLLAR(89A)
90387-101Y9-00
Unavailable
51
COLLAR (8L0)
90387-100A4-00
Unavailable
52
BOLT, WITH HOLE
90102-10054-00
Unavailable
53
BOLT, WITH HOLE
90102-10055-00
Unavailable
54
PIN, COTTER
91490-20025-00
Unavailable
55
BRACKET, 1
8V0-2376E-01-00
Unavailable
56
BRACKET 2
8V0-2377E-01-00
Unavailable
57
BUSH, BIMETAL FORMED (8L0)
90384-14091-00
Unavailable
58
BOLT
97017-08035-00
Unavailable
59
WASHER(JN5)
92907-08100-00
Unavailable
60
BAR, STABLZR FRONT
8V0-2386E-01-00
Unavailable
61
ARM, STABILIZER 1
8V0-2386L-01-00
Unavailable
62
ARM, STABILIZER 2
8V0-2386M-01-00
Unavailable
63
WASHER, WAVE (666)
90206-12052-00
Unavailable
64
WASHER, PLATE (1E7)
90201-08624-00
Unavailable
65
JOINT, UNIVERSAL 1
J45-23841-00-00
Unavailable
66
LINK, STABLZR FRONT
8V0-2386F-01-00
Unavailable
68
BOLT, HEXAGON
97017-06025-00
Unavailable
69
WASHER, SPRING
92907-06100-00
Unavailable
70
NUT, HEXAGON SMALL
95317-08700-00
Unavailable
71
BOLT
97017-08035-00
Unavailable
