- Partiron
- OEM Parts
- Yamaha
- snowmobile
- 1998
- PZ480EB (PHAZER SS ELECTRIC) 8BG5 1998
TRACK SUSPENSION 2
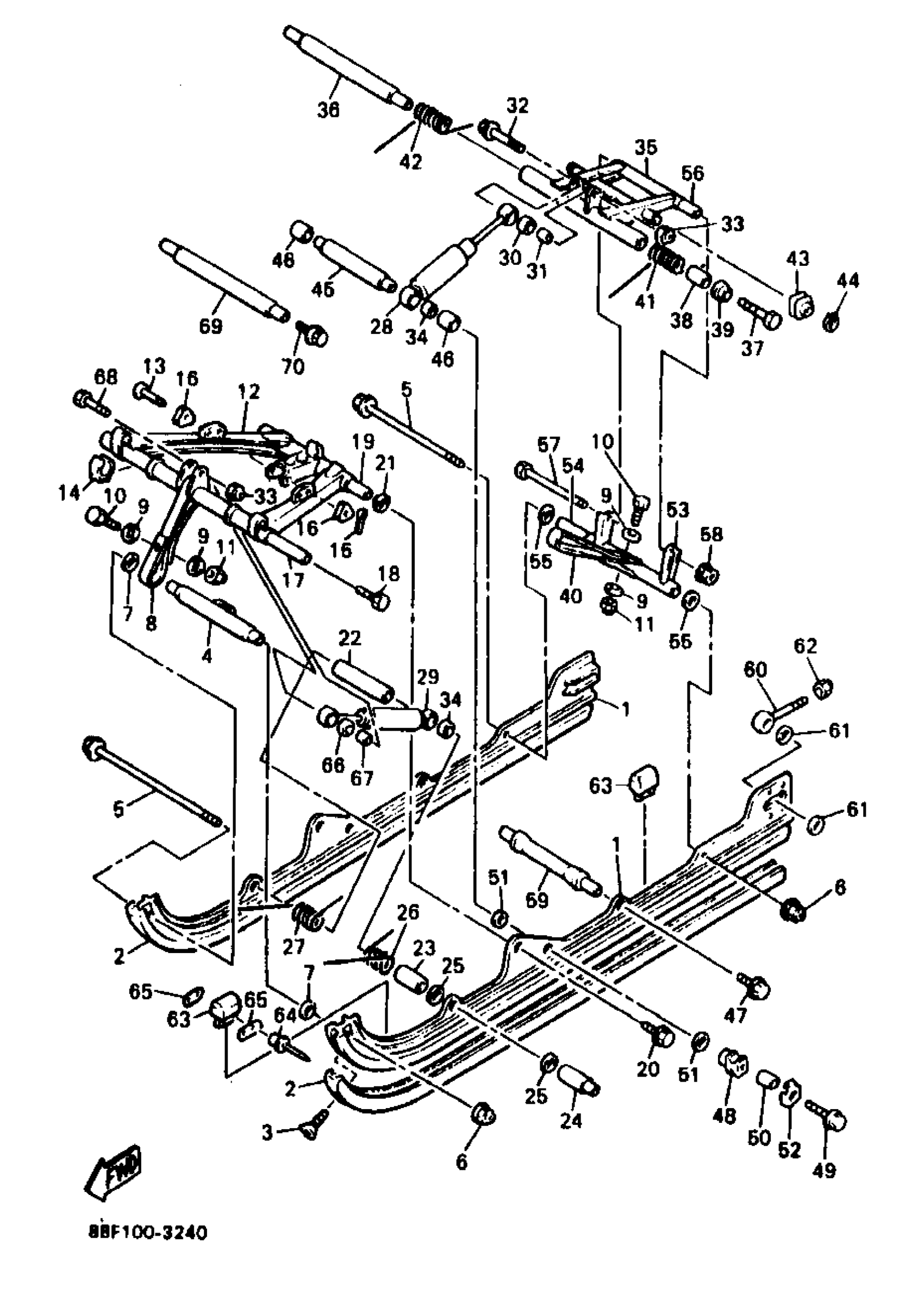
Yamaha PZ480EB (PHAZER SS ELECTRIC) 8BG5 1998 TRACK SUSPENSION 2 Diagram
#
1
FRAME, SLIDING
87F-W4741-01-00
Unavailable
2
RUNNER, SLIDING 1
87F-47421-00-00
Unavailable
2
RUNNER, SLIDING 1
88T-47421-00-XX
Unavailable
2
RUNNER, SLIDING 1
88T-47421-00-XX
Unavailable
4
BRACKET 1
8V0-47415-00-00
Unavailable
8
STOPPER 1
87F-47495-00-00
Unavailable
12
ARM,PIVOT 1
88K-47331-00-00
Unavailable
13
PIN, CLEVIS (90240-12107-00)
90240-12136-00
Unavailable
14
HOOK 2
8V0-47447-01-00
Unavailable
15
PIN, COTTER
91401-30025-00
Unavailable
16
HOOK 3
8V0-47448-00-00
Unavailable
17
SHAFT 1
8A5-47465-02-00
Unavailable
18
BOLT (8V0)
90109-10771-00
Unavailable
19
SHAFT 3
82M-47485-02-00
Unavailable
20
BOLT, FLANGE
95817-10030-00
Unavailable
21
COLLAR (8U7)
90387-105G6-00
Unavailable
22
COLLAR
90387-160M7-00
Unavailable
23
COLLAR
8V0-47319-00-00
Unavailable
24
COLLAR
90387-166M8-00
Unavailable
25
WASHER, PLATE
90201-161E5-00
Unavailable
26
SPRING, FRONT 1
87F-47471-00-00
Unavailable
27
SPRING, FRONT 2
87F-47472-00-00
Unavailable
28
SHOCK ABSORBER
88X-47480-10-00
Unavailable
29
SHOCK ABSORBER 2
87F-47481-00-00
Unavailable
30
COLLAR(82M)
90387-084R5-00
Unavailable
31
BUSH, SOLID
90380-12161-00
Unavailable
32
BOLT, FLANGE
95817-08040-00
Unavailable
33
NUT, NYLON
95717-08300-00
Unavailable
34
BUSH, PIVOT
8V0-47371-00-00
Unavailable
35
ARM, PIVOT 2
87H-47332-00-00
Unavailable
36
SHAFT 2
8K2-47475-00-00
Unavailable
37
BOLT (8V0)
90109-10771-00
Unavailable
38
COLLAR 1
8V0-47365-00-00
Unavailable
39
WASHER
8V0-47384-00-00
Unavailable
40
STOPPER 2 (83R-47496-00)
89F-47496-00-00
Unavailable
41
SPRING, REAR 1
87F-47473-00-00
Unavailable
41
SPRING, REAR, 1
8Y7-47473-00-00
Unavailable
42
SPRING, REAR 2
87F-47474-00-00
Unavailable
42
SPRING,REAR.2
8Y7-47474-00-00
Unavailable
43
HOOK 1
86S-47446-01-00
Unavailable
44
CIRCLIP(13H)
99009-14400-00
Unavailable
45
SHAFT 4
84J-47486-00-00
Unavailable
46
COLLAR
8V0-47338-00-00
Unavailable
47
BOLT, FLANGE(8AB)
95817-08020-00
Unavailable
48
HOOK 2
85K-47447-01-00
Unavailable
49
BOLT, FLANGE
95817-10060-00
Unavailable
50
COLLAR
90387-103U7-00
Unavailable
51
WASHER, PLATE (17K)
90201-106F2-00
Unavailable
52
PLATE, GUIDE
84J-47467-00-00
Unavailable
53
BRACKET 3
8V0-47417-00-00
Unavailable
54
COLLAR
90387-08632-00
Unavailable
55
WASHER (1T1)
90201-08649-00
Unavailable
56
COLLAR
90387-084J9-00
Unavailable
57
BOLT,HEXAGON
97027-08165-00
Unavailable
58
NUT, NYLON
95717-08300-00
Unavailable
59
SHAFT 6
8V0-47488-00-00
Unavailable
60
COLLAR 3
8K2-47479-01-00
Unavailable
61
WASHER, PLATE(89W)
90201-205R6-00
Unavailable
62
NUT, NYLON
95707-10300-00
Unavailable
63
DAMPER 1
8V0-47456-00-00
Unavailable
64
RIVET, BLIND (8K4)
90267-48062-00
Unavailable
65
PLATE, DAMPER
8K2-47458-01-00
Unavailable
66
COLLAR
90387-081U4-00
Unavailable
67
BUSH, SOLID
90380-12169-00
Unavailable
68
BOLT, FLANGE(JN5)
95817-08045-00
Unavailable
69
IDLER
8L1-47461-00-00
Unavailable
70
BOLT, FLANGE(8AB)
95817-08020-00
Unavailable
