Yamaha PZ480EA (PHAZER SS ELECTRIC) 8BG4 1997 ELECTRICAL 1 Diagram
#
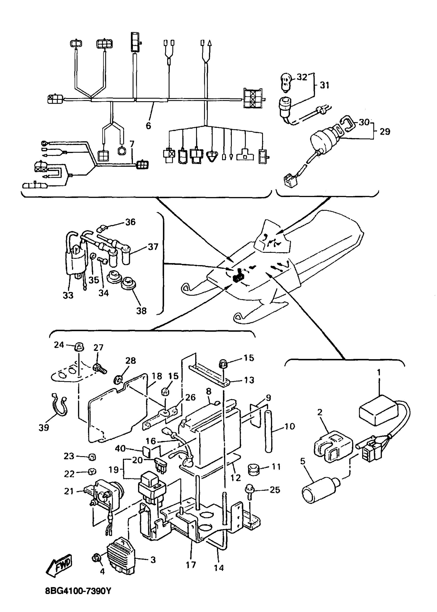
1
C.D.I. UNIT ASSY
8BK-85540-01-00
Unavailable
2
BAND
2A7-85546-00-00
Unavailable
5
COVER, CONNECTER
8Y0-82599-00-00
Unavailable
6
WIRE HARNESS ASSEMBLY
8BG-82590-10-00
Unavailable
7
WIRE HARNESS ASSEMBLY 2
8BG-82580-00-00
Unavailable
8
YB14LA2 YUASA BATTERY
YB1-4LA20-00-00
Unavailable
9
LABEL, BATTERY
40A-82141-G0-00
Unavailable
11
GROMMET(3AA)
90480-12497-00
Unavailable
12
. SEAT, BATTERY
82L-82122-00-00
Unavailable
13
PLATE, BATTERY FITTING
8J4-82136-00-00
Unavailable
14
. SCREW, FITTING
8J4-82133-00-00
Unavailable
16
WIRE PLUS LEAD
84N-82115-00-00
Unavailable
17
BRACKET, BATTERY
89H-2199G-00-00
Unavailable
18
SHIELD, HEAT
8V0-2199H-00-00
Unavailable
19
FUSE HOLDER ASSY
8BE-82150-00-00
Unavailable
20
FUSE (10A)
42X-82151-00-00
Unavailable
21
. STARTER RELAY ASSY
8J9-81940-10-00
Unavailable
22
WASHER, SPRING
92907-06100-00
Unavailable
23
NUT(6TA)
95317-06600-00
Unavailable
24
NUT,SELF-LOCKING
95607-06200-00
Unavailable
25
BOLT, FLANGE
95817-06010-00
Unavailable
26
. BRACKET, BATTERY
8V0-82128-00-00
Unavailable
27
BOLT
97027-05010-00
Unavailable
28
WASHER(1RW)
92907-05600-00
Unavailable
29
MAIN SWITCH ASSY
8AB-82510-01-00
Unavailable
30
CAP, KEY
526-82579-00-00
Unavailable
31
PILOT LIGHT ASSEMBLY 1
8V0-84301-00-00
Unavailable
32
. BULB (12V5W)
8V0-85353-00-00
Unavailable
33
IGNITION COIL ASSY
8AB-82310-07-00
Unavailable
34
SCREW PAN HEAD
98580-06020-00
Unavailable
35
WASHER, PLAIN (646)
92990-06600-00
Unavailable
36
CLAMP, CORD
861-82361-00-00
Unavailable
37
PLUG CAP ASSY
85G-82370-20-00
Unavailable
38
SEAL, PLUG CAP
8V0-82372-00-00
Unavailable
39
CLAMP (3Y2)
90464-16039-00
Unavailable
40
DAMPER
22F-2139X-00-00
Unavailable
