Yamaha PW80N1 (PW80) 3RVE 2001 INTAKE Diagram
#
Description
Price
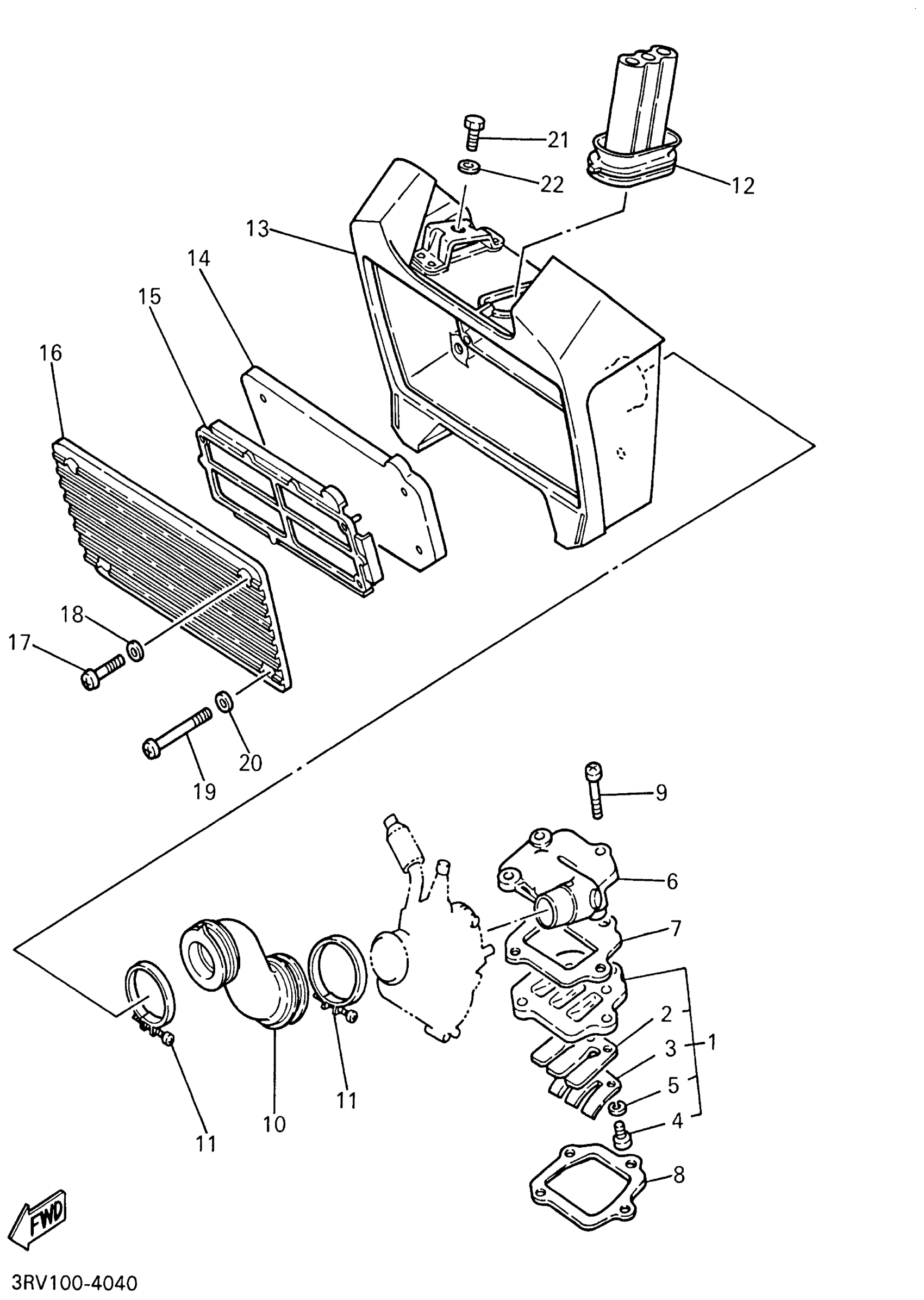
6
MANIFOLD, INTAKE
21W-13555-00-00
Unavailable
9
SCREW, PAN
98517-06030-00
Unavailable
11
CLAMP, HOSE
90460-37130-00
Unavailable
12
JOINT, SUCTION PIPE
5U8-14454-00-00
Unavailable
13
AIR CLEANER CASE COMP.
3RV-W1441-40-00
Unavailable
15
GUIDE
21W-14458-00-00
Unavailable
16
CAP, CLEANER CASE 1
21W-14412-00-00
Unavailable
17
SCREW, PAN HEAD(4MY)
98507-05025-00
Unavailable
18
WASHER(1RW)
92907-05600-00
Unavailable
19
SCREW, PAN HEAD
98507-05050-00
Unavailable
20
WASHER(1RW)
92907-05600-00
Unavailable
21
BOLT, HEXAGON
97017-08016-00
Unavailable
22
WASHER(6TA)
92907-08600-00
Unavailable
