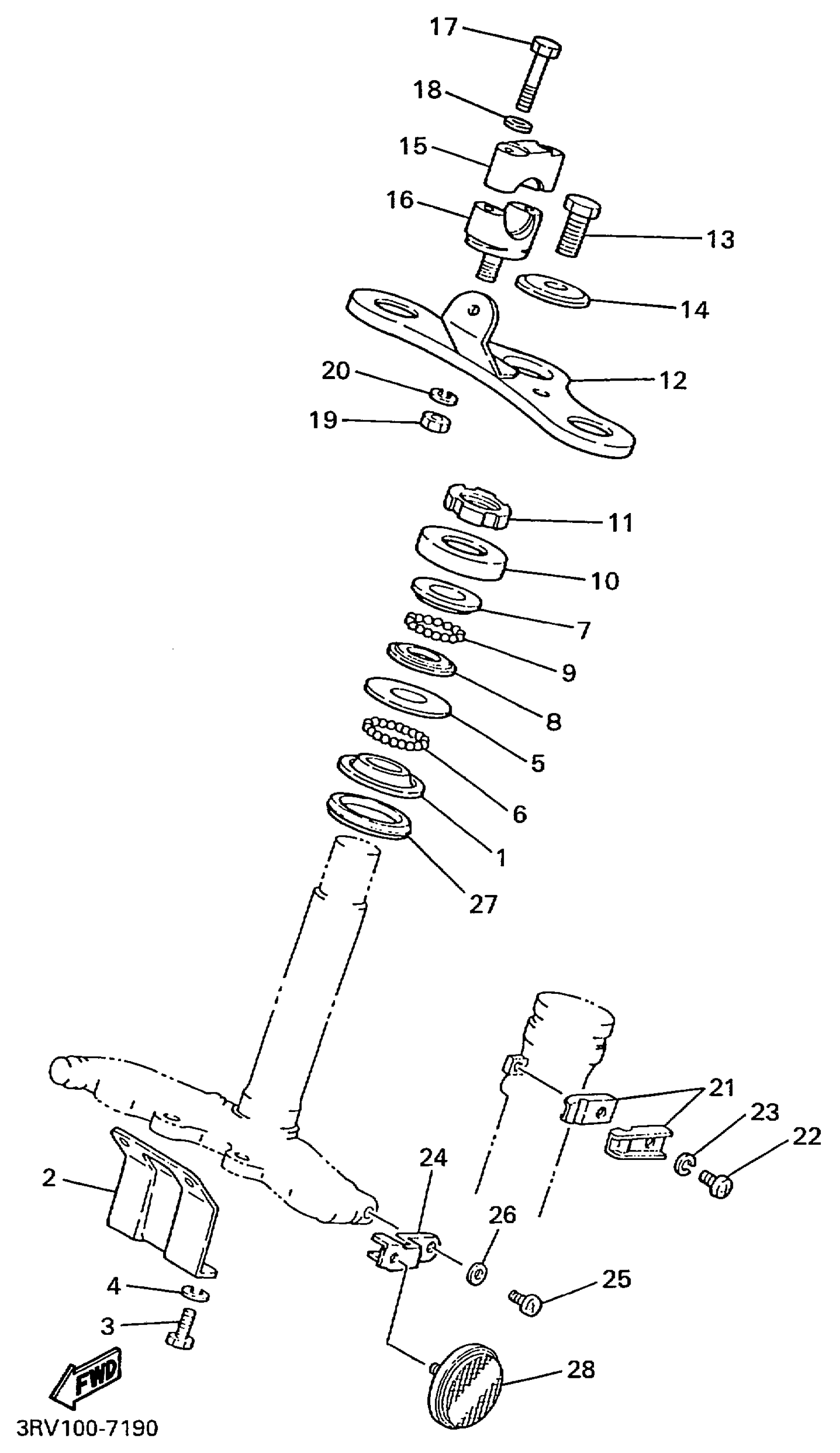
Yamaha PW80L1 (PW80) 3RVC 1999 STEERING Diagram
#
Description
Price
2
STAY, PLATE
21W-23486-00-00
Unavailable
12
CROWN, HANDLE
3RV-23435-00-00
Unavailable
15
HOLDER, HANDLE UPPER
3RV-23441-01-00
Unavailable
16
HOLDER, HANDLE LOWER
462-23442-00-35
Unavailable
17
BOLT(3RV)
97014-06035-00
Unavailable
18
WASHER, PLAIN (646)
92990-06600-00
Unavailable
19
NUT(6TD)
95337-10600-00
Unavailable
20
WASHER(6TA)
92907-10100-00
Unavailable
21
CLAMP (3R0)
90462-14055-00
Unavailable
22
SCREW, PAN
98517-06012-00
Unavailable
24
STAY
21W-2317E-00-00
Unavailable
25
GASKET, EXHAUST
98507-05008-00
Unavailable
26
WASHER(1RW)
92907-05600-00
Unavailable
27
SEAL, DUST
164-23462-00-00
Unavailable
28
REFLECTOR, FRONT 1
355-85111-01-00
Unavailable
