- Partiron
- OEM Parts
- Yamaha
- motorcycle
- 1995
- PW80G (Y-ZINGER) 1995
STAND FOOTREST
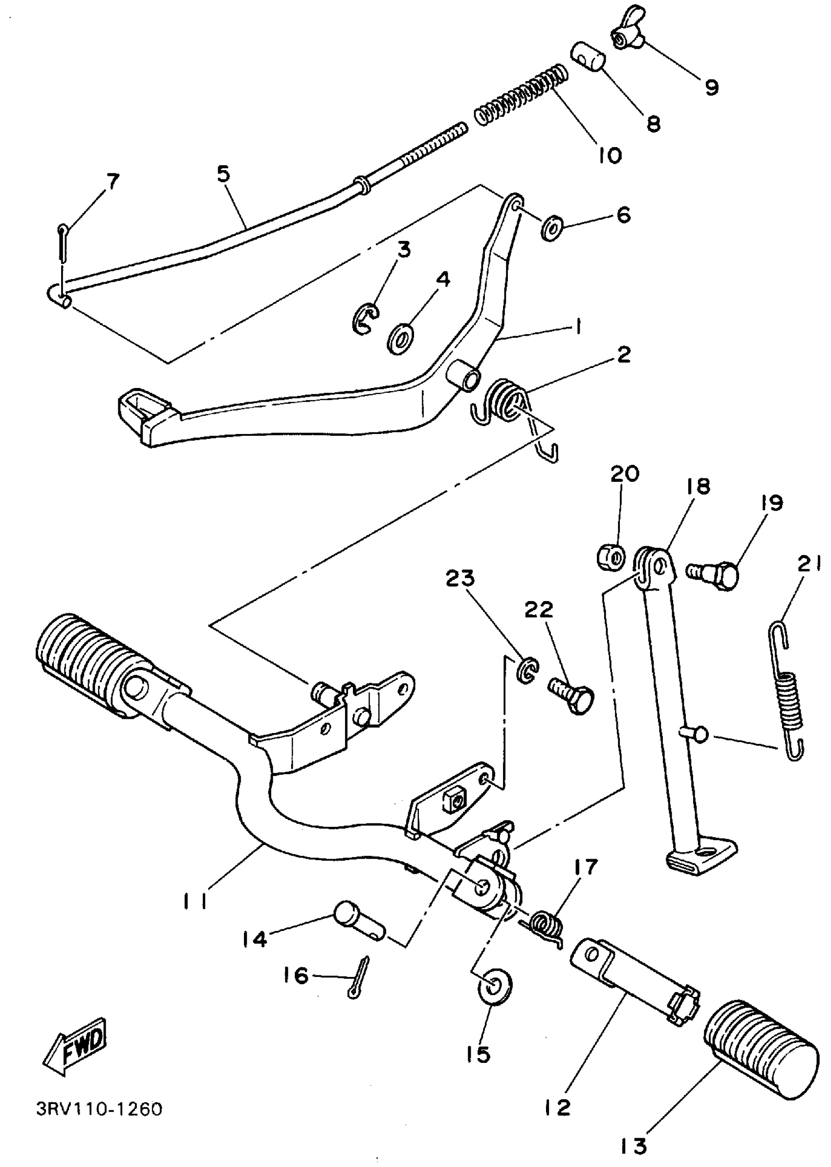
Yamaha PW80G (Y-ZINGER) 1995 STAND FOOTREST Diagram
#
Description
Price
11
FOOTREST 1
21W-27411-01-33
Unavailable
16
PIN, COTTER
91490-25020-00
Unavailable
17
SPRING, TORSION (214-27426-00)
90508-20023-00
Unavailable
18
STAND, SIDE
21W-27311-01-00
Unavailable
19
BOLT 1092537300
90109-08063-00
Unavailable
20
NUT, HEXAGON SMALL
95317-08700-00
Unavailable
21
SPRING, TENSION (1L9)
90506-26270-00
Unavailable
22
BOLT, HEXAGON
97017-08020-00
Unavailable
23
WASHER(JN5)
92907-08100-00
Unavailable
