- Partiron
- OEM Parts
- Yamaha
- motorcycle
- 1991
- PW80B (Y-ZINGER) 1991
CARBURETOR
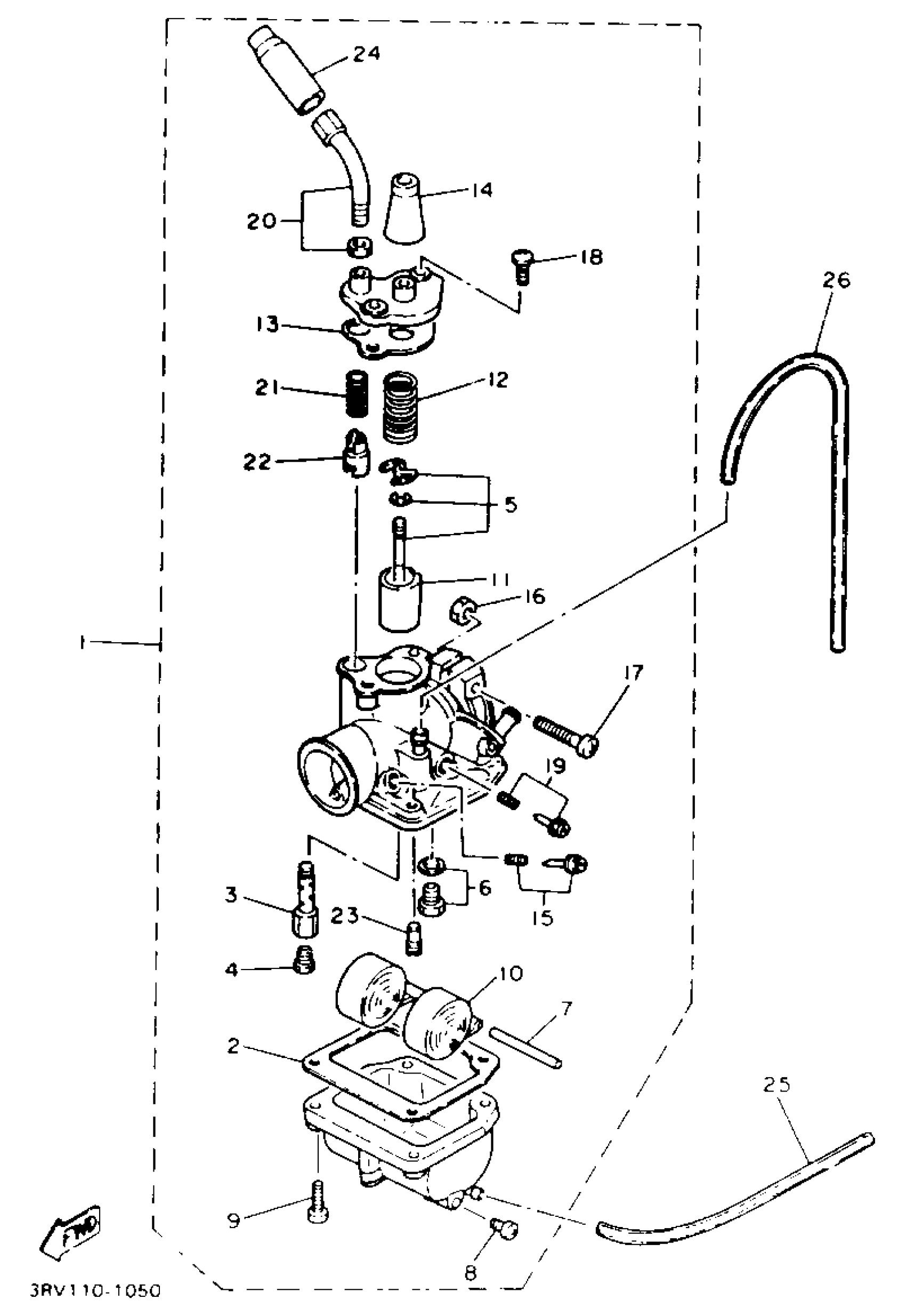
Yamaha PW80B (Y-ZINGER) 1991 CARBURETOR Diagram
#
Description
Price
1
CARBURETOR ASSY 1
21W-14101-01-00
Unavailable
5
NEEDLE SET
21W-1490J-00-00
Unavailable
6
NEEDLE VALVE SET
21W-14107-12-00
Unavailable
11
VALVE,THROTTLE 1
18E-14112-25-00
Unavailable
12
SPRING, THROTTLE VALVE
296-14131-00-00
Unavailable
14
CAP
307-14169-10-00
Unavailable
15
AIR SCREW SET
36R-14104-00-00
Unavailable
16
NUT, HEXAGON (663)
95380-05600-00
Unavailable
17
SCREW, PAN HEAD
98517-05030-00
Unavailable
18
SCREW, PAN HEAD (E56)
98580-04010-00
Unavailable
19
THROTTLE SCREW SET
12G-14103-00-00
Unavailable
20
ADJUST SCREW SET
21W-14503-00-00
Unavailable
21
SPRING, PLUNGER
127-14135-00-00
Unavailable
22
PLUNGER, STARTER
58E-14171-00-00
Unavailable
23
JET, PILOT (# 15)
193-14142-15-A0
Unavailable
24
CAP
1R0-14169-00-00
Unavailable
25
HOSE (L200)
90445-05N13-00
Unavailable
26
HOSE (L200)
90445-07176-00
Unavailable
