Partiron

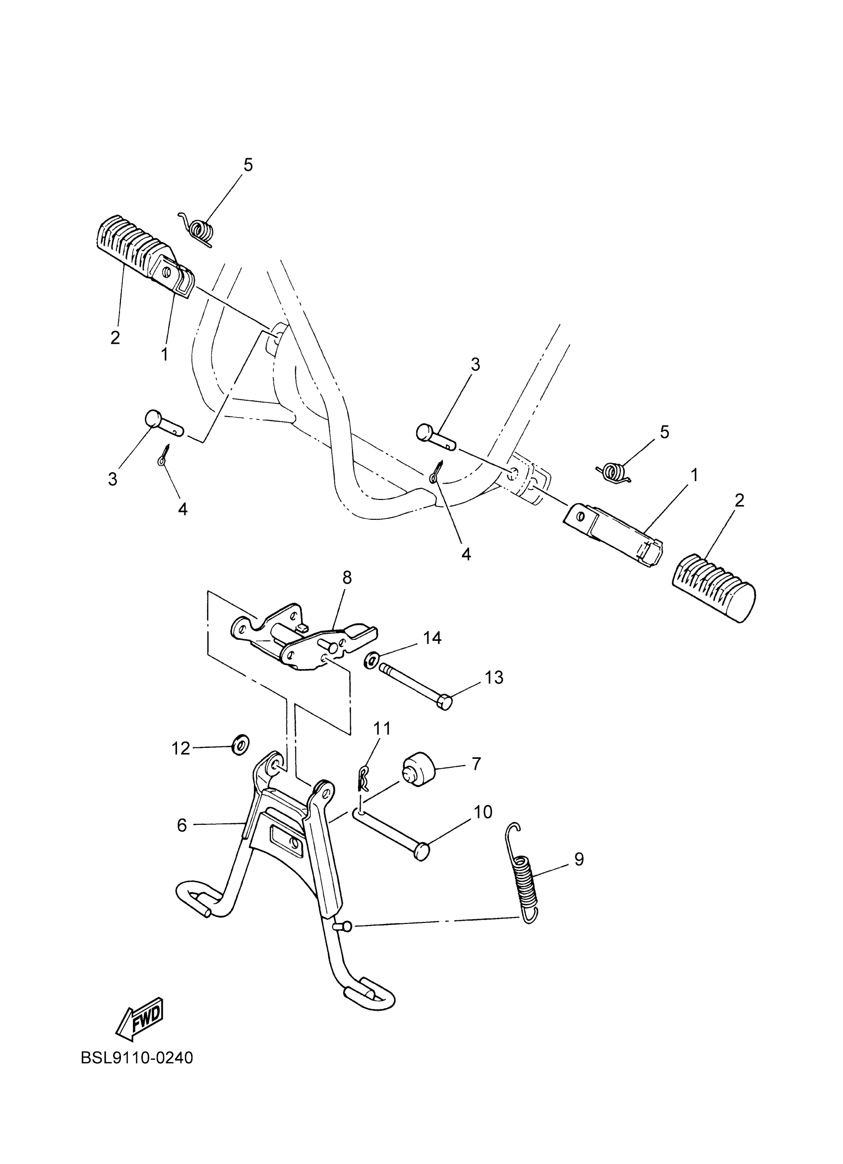
Yamaha PW50T2C (PW50) BSLE 2026 STAND & FOOTREST Diagram

#

Description
Price

1

FOOT REST

214-27421-00-00

$37.99

2

COVER, FOOTREST

4X4-27413-00-00

$23.99

3

PIN, CLEVIS (2A6)

91701-08038-00

$4.14

4

PIN, COTTER

91490-25020-00

$3.19

5

SPRING, TORSION (214-27426-00)

90508-20023-00

$8.49

6

STAND, MAIN

4X4-27111-00-33

$80.99

7

STOPPER, MAIN STAND

116-27114-00-00

$10.99

8

BRACKET, MAIN STAND

3L5-27151-02-00

$41.99

9

SPRING TENSION 146273160000

90506-29052-00

$11.49

10

PIN, CLEVIS(1YU)

90240-08121-00

$9.49

11

CLIP 136253750000

90468-12006-00

$8.49

12

WASHER(6TA)

92907-08600-00

$3.03

13

BOLT, SOCKET

91317-06070-00

$4.99

14

WASHER, PLATE

90201-06045-00

$8.49