- Partiron
- OEM Parts
- Yamaha
- motorcycle
- 2026
- PW50T2C (PW50) BSLE 2026
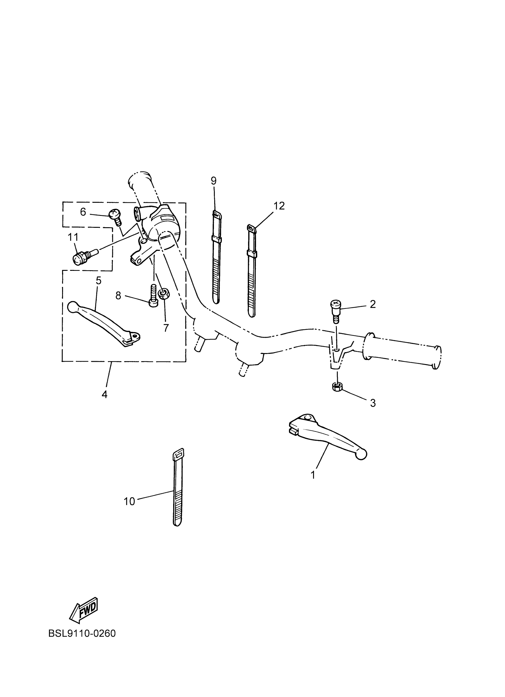
HANDLE SWITCH & LEVER
Yamaha PW50T2C (PW50) BSLE 2026 HANDLE SWITCH & LEVER Diagram
#
Description
Price
12
CLAMP
90465-10098-00
Unavailable
