- Partiron
- OEM Parts
- Yamaha
- motorcycle
- 2005
- PW50T1 (PW50) 5PG9 2005
CARBURETOR
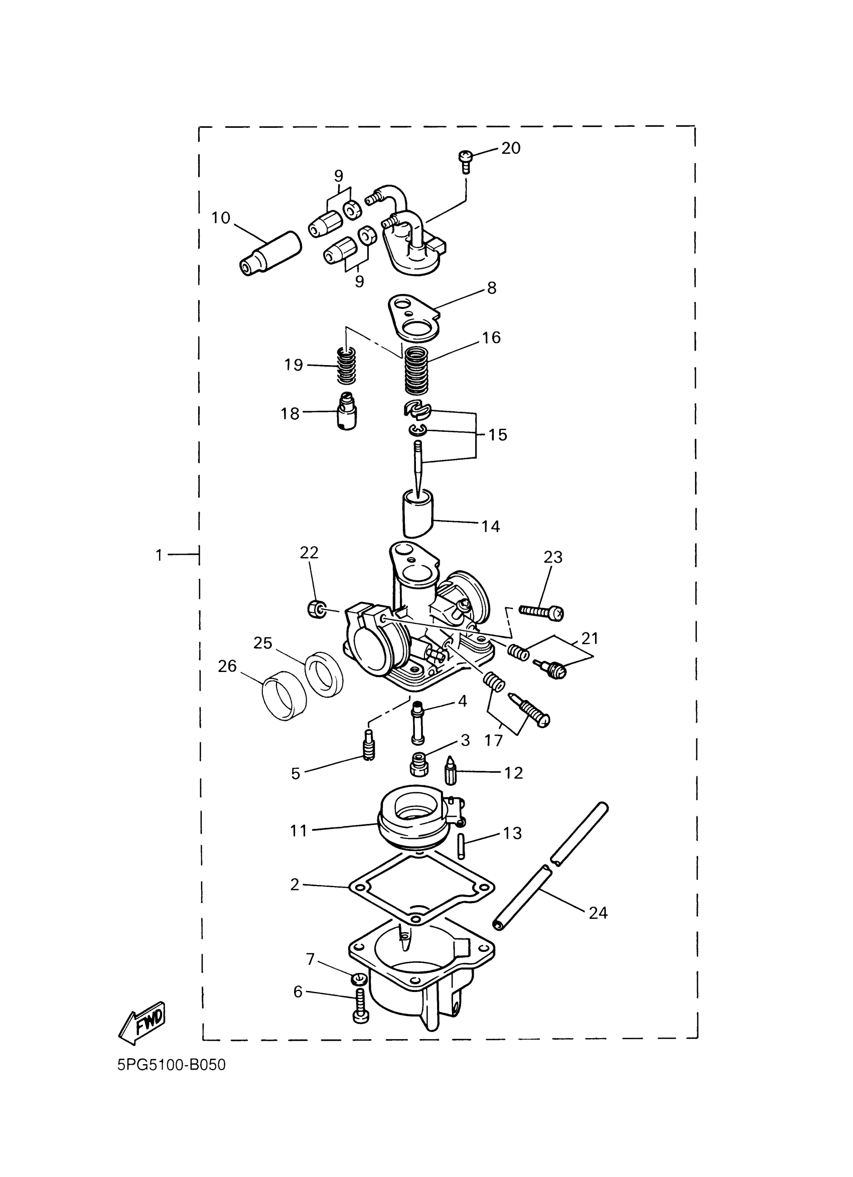
Yamaha PW50T1 (PW50) 5PG9 2005 CARBURETOR Diagram
#
Description
Price
16
SPRING, THROTTLE VALVE
174-14131-01-00
Unavailable
17
THROTTLE SCREW SET
36R-14103-00-00
Unavailable
18
PLUNGER, STARTER
58E-14171-00-00
Unavailable
19
SPRING, PLUNGER
127-14135-00-00
Unavailable
20
SCREW, PAN HEAD W/WASHER
97607-05112-00
Unavailable
21
AIR SCREW SET
36R-14104-00-00
Unavailable
22
NUT
98807-05100-00
Unavailable
23
SCREW, PAN HEAD
98517-05030-00
Unavailable
24
HOSE (L200)
90445-05N13-00
Unavailable
25
SEAL
1M3-14997-00-00
Unavailable
26
PACKING, INSULATING
1V3-14271-00-00
Unavailable
