Partiron

Yamaha PW50N2C (PW50 CA) 2SAW 2022 STARTER Diagram

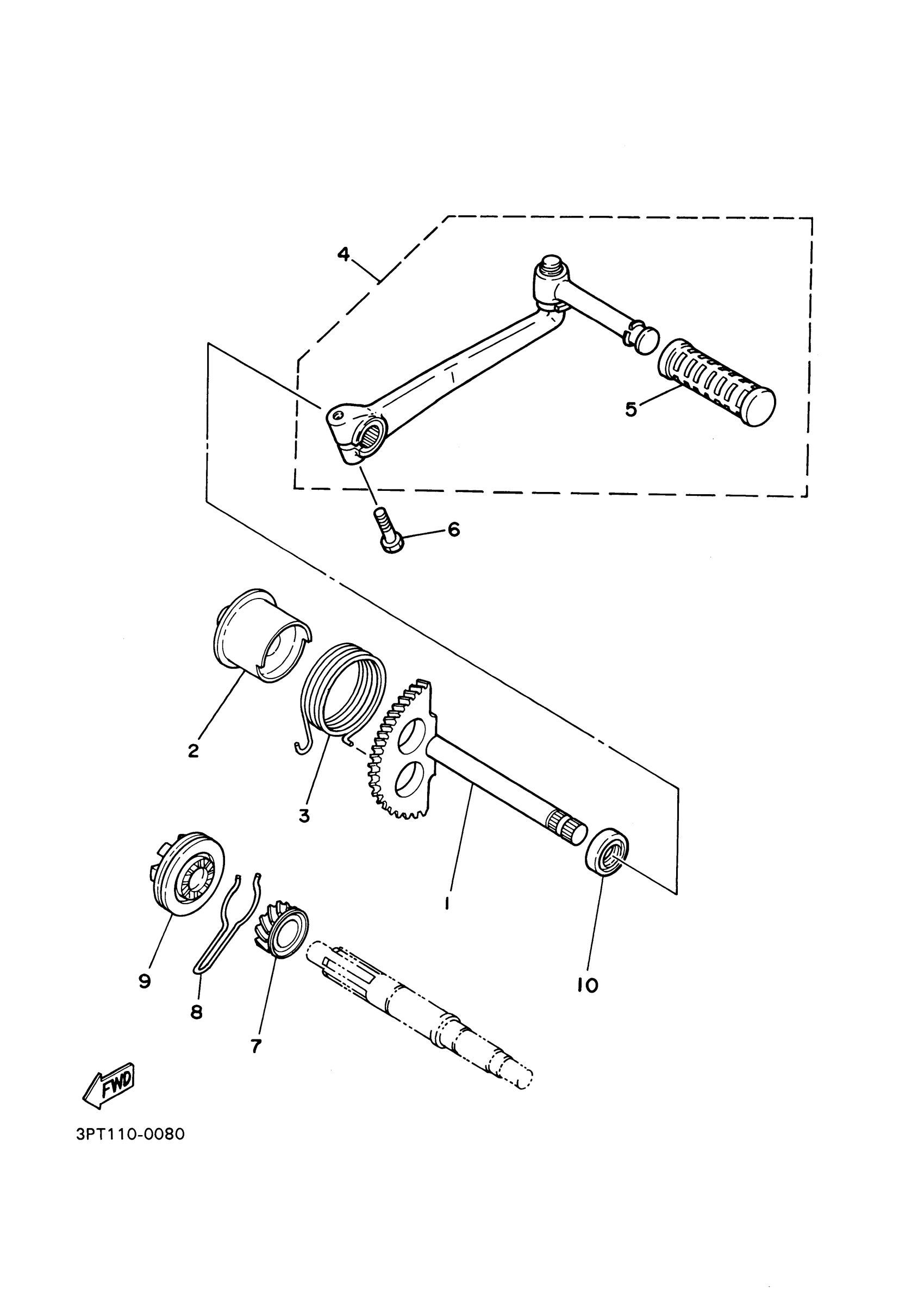
#

Description
Price

1

KICK SHAFT ASSY

3L5-15601-01-00

$42.99

2

GUIDE, SPRING

3L5-15664-00-00

$20.99

3

SPRING, TORSION (3L5)

90508-28399-00

$12.49

4

KICK CRANK ASSY

17J-15620-01-00

$124.99

5

COVER, KICK LEVER

156-15618-01-00

$7.99

6

BOLT, HEXAGON

97017-06025-00

$4.24

7

GEAR, KICK PINION (13T)

3L5-15631-00-00

$79.99

8

CLIP

3L5-15673-00-00

$7.99

9

GEAR, DRIVE

3L5-13178-00-00

$129.99

10

OIL SEAL (15X26X6-102)

93109-15001-00

$8.49