Yamaha PW50N2C (PW50 CA) 2SAW 2022 OIL PUMP Diagram
#
Description
Price
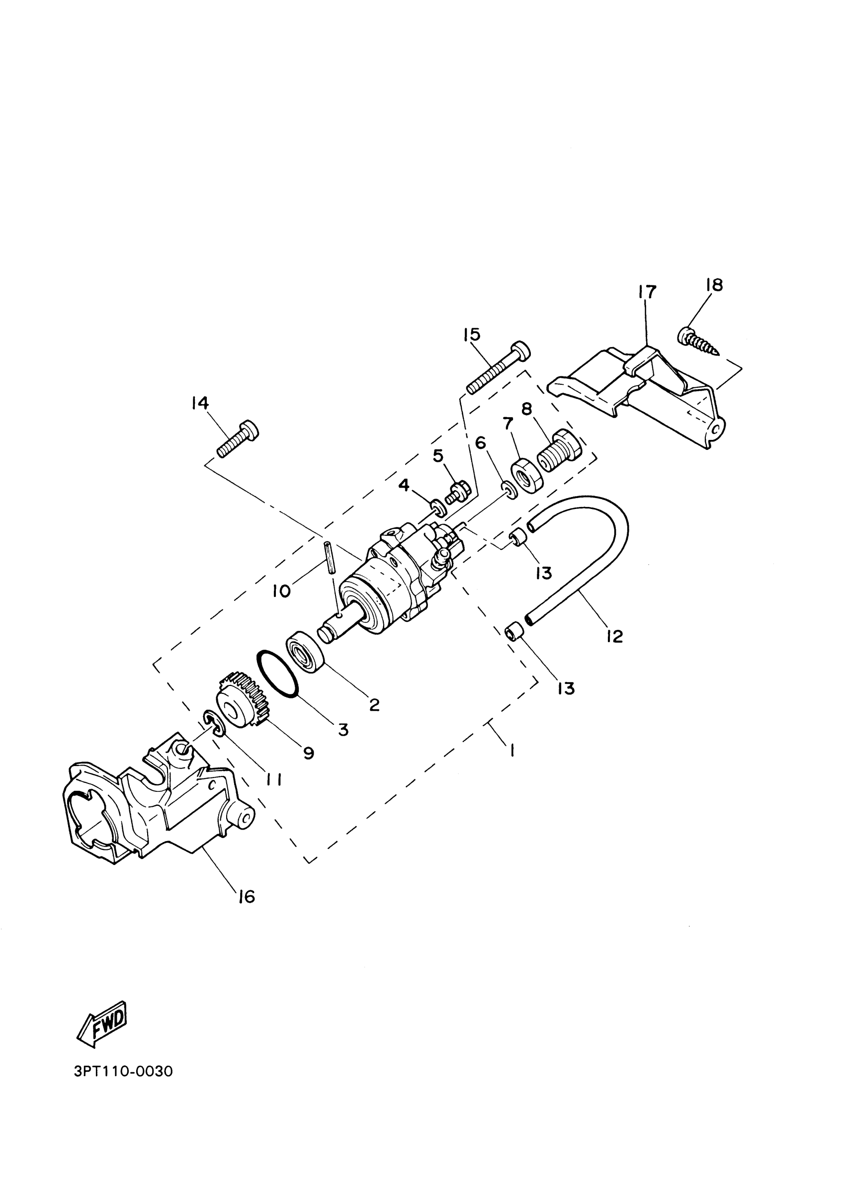
1
OIL PUMP ASSY
3L5-13101-01-00
Unavailable
7
NUT
90170-10105-00
Unavailable
8
BOLT, UNION (527 CKD)
90401-10029-00
Unavailable
9
GEAR, WORM WHEEL (56T)
3L5-13124-00-00
Unavailable
10
PIN, SPRING
91690-30014-00
Unavailable
11
CIRCLIP
99080-07600-00
Unavailable
16
COVER, OIL PUMP
3L5-15416-00-00
Unavailable
17
COVER, OIL PUMP 2
3L5-15426-00-00
Unavailable
18
SCREW, PAN TAP.2
97707-50516-00
Unavailable
