- Partiron
- OEM Parts
- Yamaha
- motorcycle
- 1998
- PW50K1 (Y-ZINGER) 1998
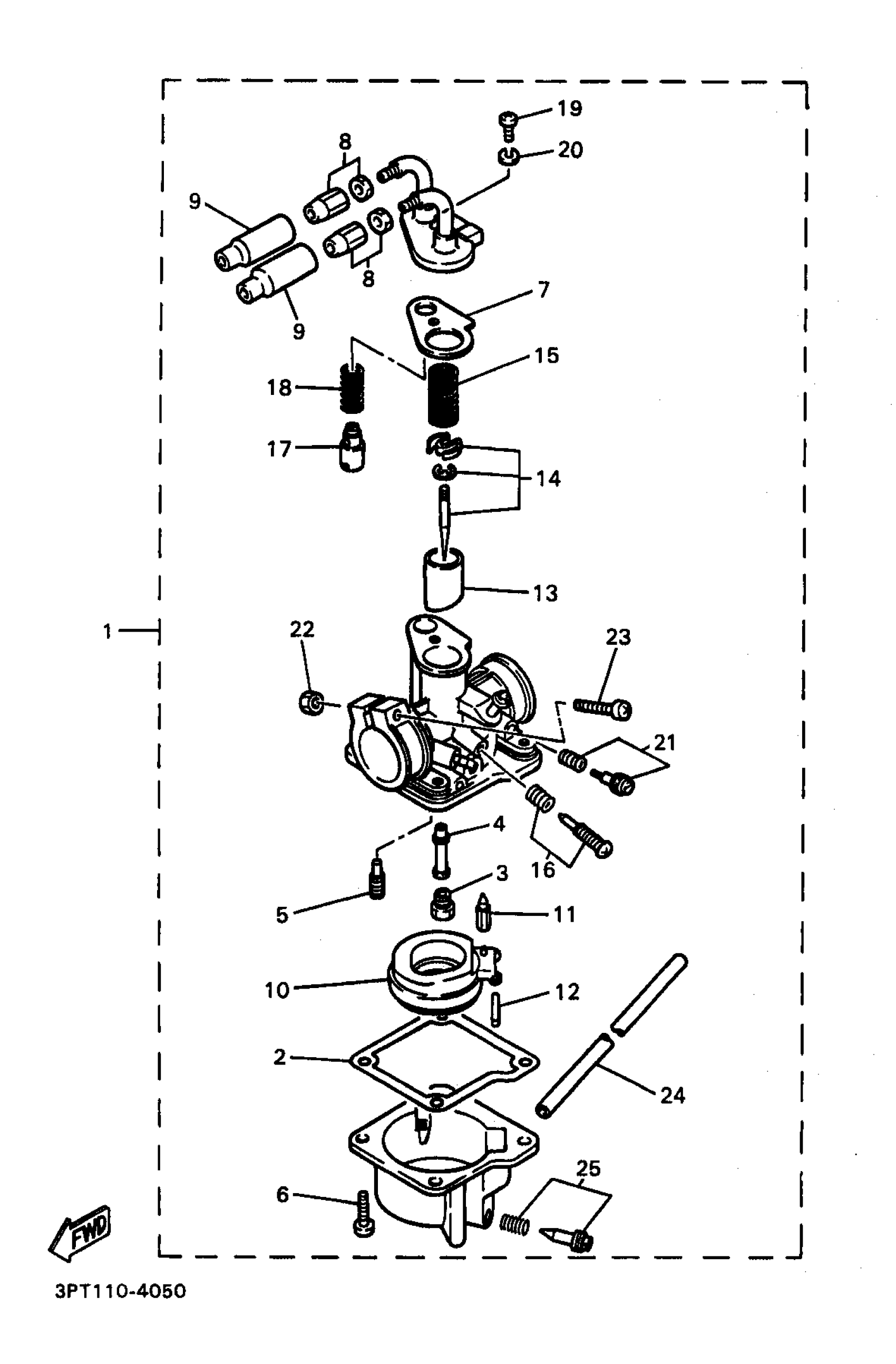
CARBURETOR
Yamaha PW50K1 (Y-ZINGER) 1998 CARBURETOR Diagram
#
Description
Price
14
NEEDLE SET
36R-1490J-00-00
Unavailable
15
SPRING, THROTTLE VALVE
174-14131-01-00
Unavailable
16
THROTTLE SCREW SET
36R-14103-00-00
Unavailable
17
PLUNGER, STARTER
58E-14171-00-00
Unavailable
18
SPRING, PLUNGER
509-14135-00-00
Unavailable
19
SCREW, PAN
98517-05012-00
Unavailable
20
YBS67-5 WASHER, SPRING
92990-05100-00
Unavailable
21
AIR SCREW SET
36R-14104-00-00
Unavailable
22
NUT, HEXAGON (663)
95380-05600-00
Unavailable
23
SCREW, PAN HEAD
98517-05030-00
Unavailable
24
HOSE (L200)
90445-05N13-00
Unavailable
25
AIR SCREW SET
36R-14104-00-00
Unavailable
