- Partiron
- OEM Parts
- Yamaha
- motorcycle
- 1990
- PW50A (Y-ZINGER) 1990
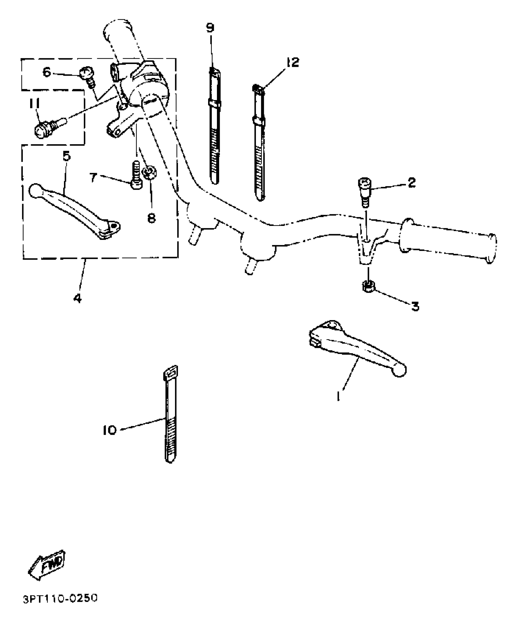
HANDLE SWITCH - LEVER
Yamaha PW50A (Y-ZINGER) 1990 HANDLE SWITCH - LEVER Diagram
#
Description
Price
1
LEVER L
53L-83912-00-00
Unavailable
