- Partiron
- OEM Parts
- Yamaha
- motorcycle
- 1990
- PW50A (Y-ZINGER) 1990
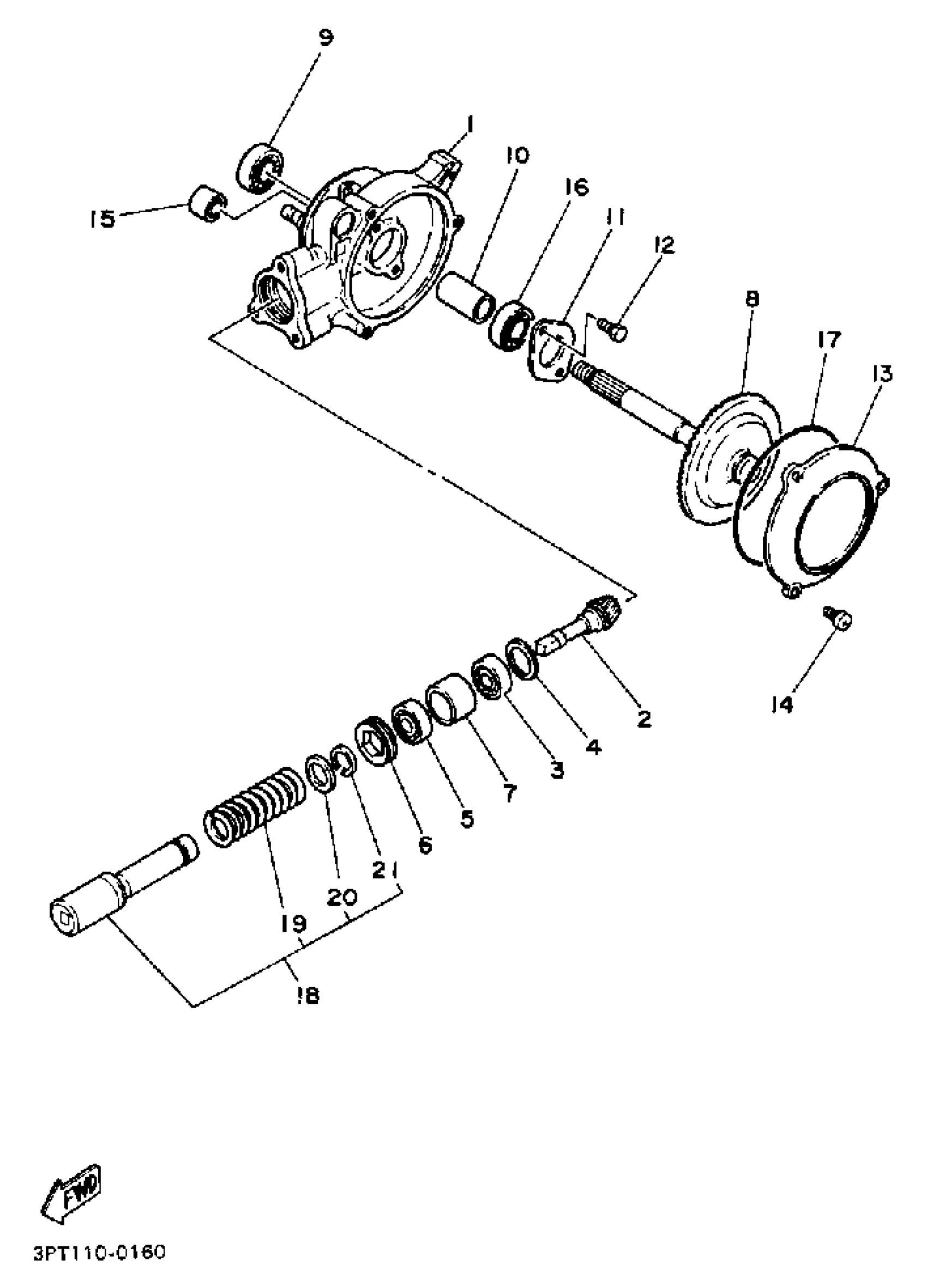
DRIVE SHAFT
Yamaha PW50A (Y-ZINGER) 1990 DRIVE SHAFT Diagram
#
Description
Price
1
HOUSING, DRIVE SHAFT
4J2-46151-02-00
Unavailable
2
GEAR, DRIVE PINION
59M-46121-00-00
Unavailable
11
PLATE, COVER
3L5-46114-00-00
Unavailable
15
BUSHING, REAR CUSHION
164-22216-00-00
Unavailable
16
BEARING
93306-20205-00
Unavailable
17
O-RING
93211-066A9-00
Unavailable
18
SHAFT DRIVE ASSY
3L7-46171-00-00
Unavailable
19
SPRING, COMPRESSION (3L5)
90501-60556-00
Unavailable
20
RETAINER, SPRING
15L-18473-00-00
Unavailable
21
CIRCLIP(18U)
93440-17138-00
Unavailable
