Partiron

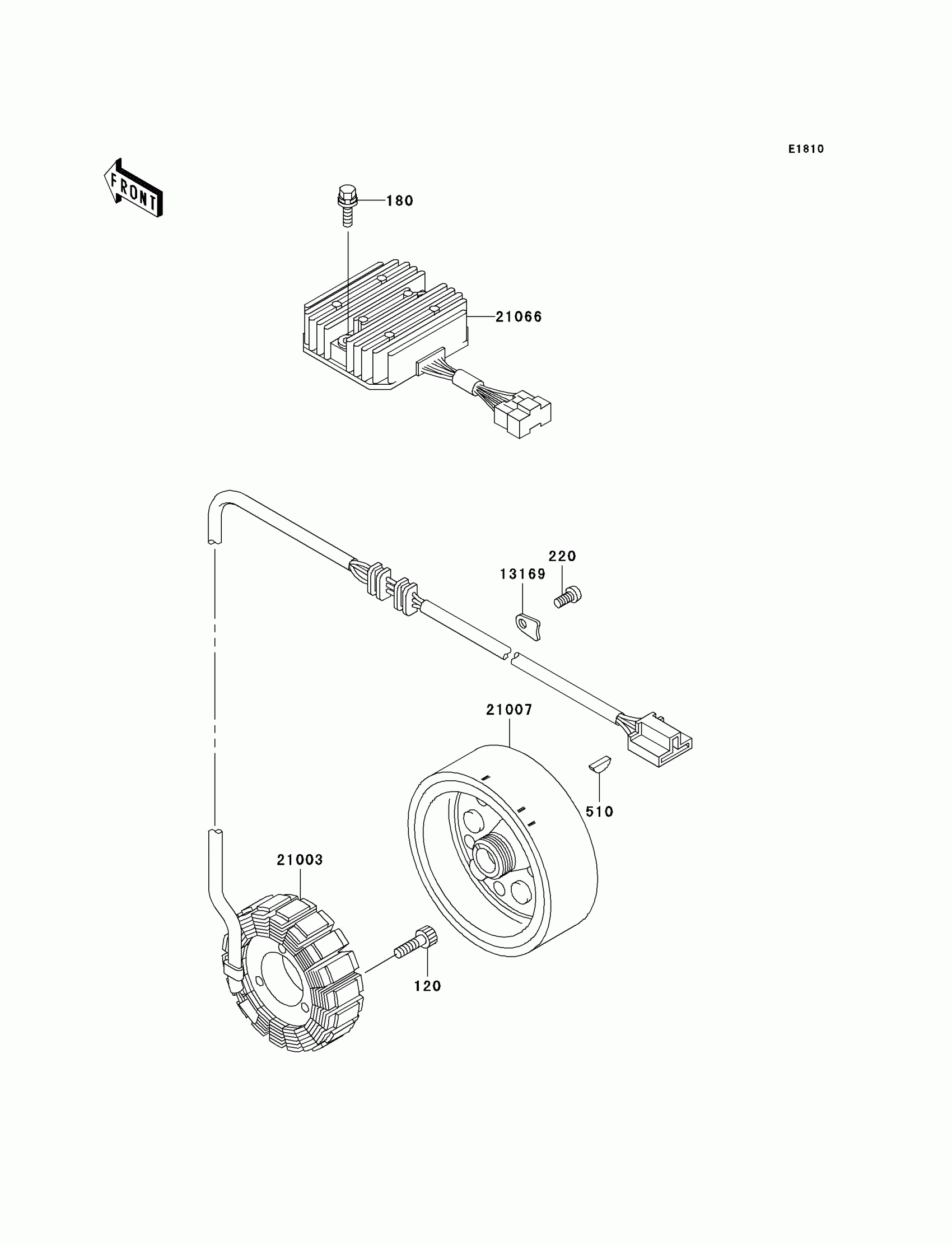
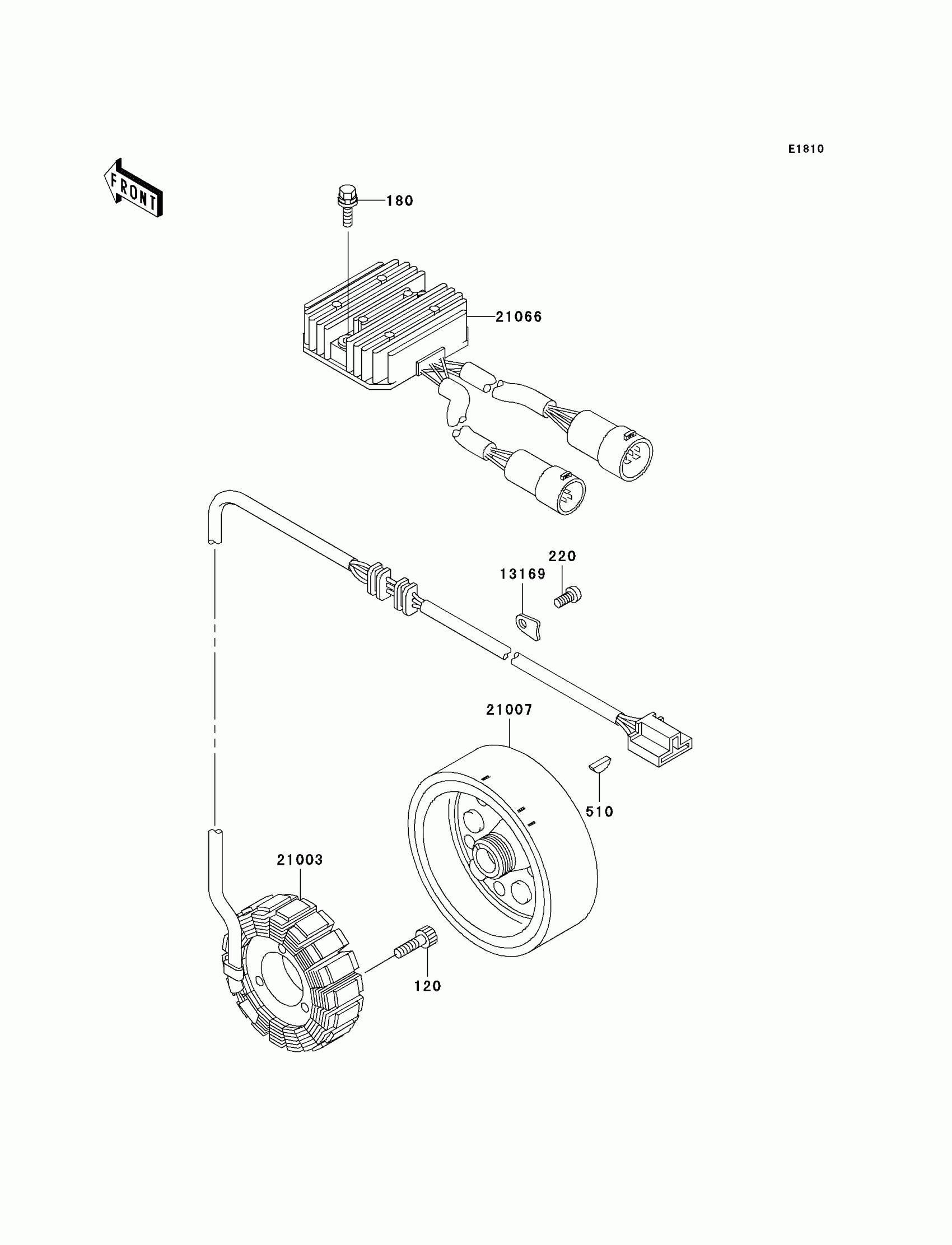
Kawasaki Prairie 400 4X4 Generator Diagram

#

Description
Price

120

BOLT-SOCKET,6X30

120P0630

$5.59

180

BOLT-UPSET-WS,6X30

180D0630

Unavailable

220

SCREW PAN HEAD 6X10

220B0610

$3.14

510

KEY-WOODRUFF

510A4200

$2.96

13169

PLATE,HARNESS

13169-1788

$5.33

21003

STATOR

21003-1300

Unavailable

21007

ROTOR,GENERATOR

21007-1306

$613.49

21066

REGULATOR-VOLTAGE

21066-1078

Unavailable