- Partiron
- OEM Parts
- Kawasaki
- motorcycle
- 1986
- Police 1000
TURN SIGNALS
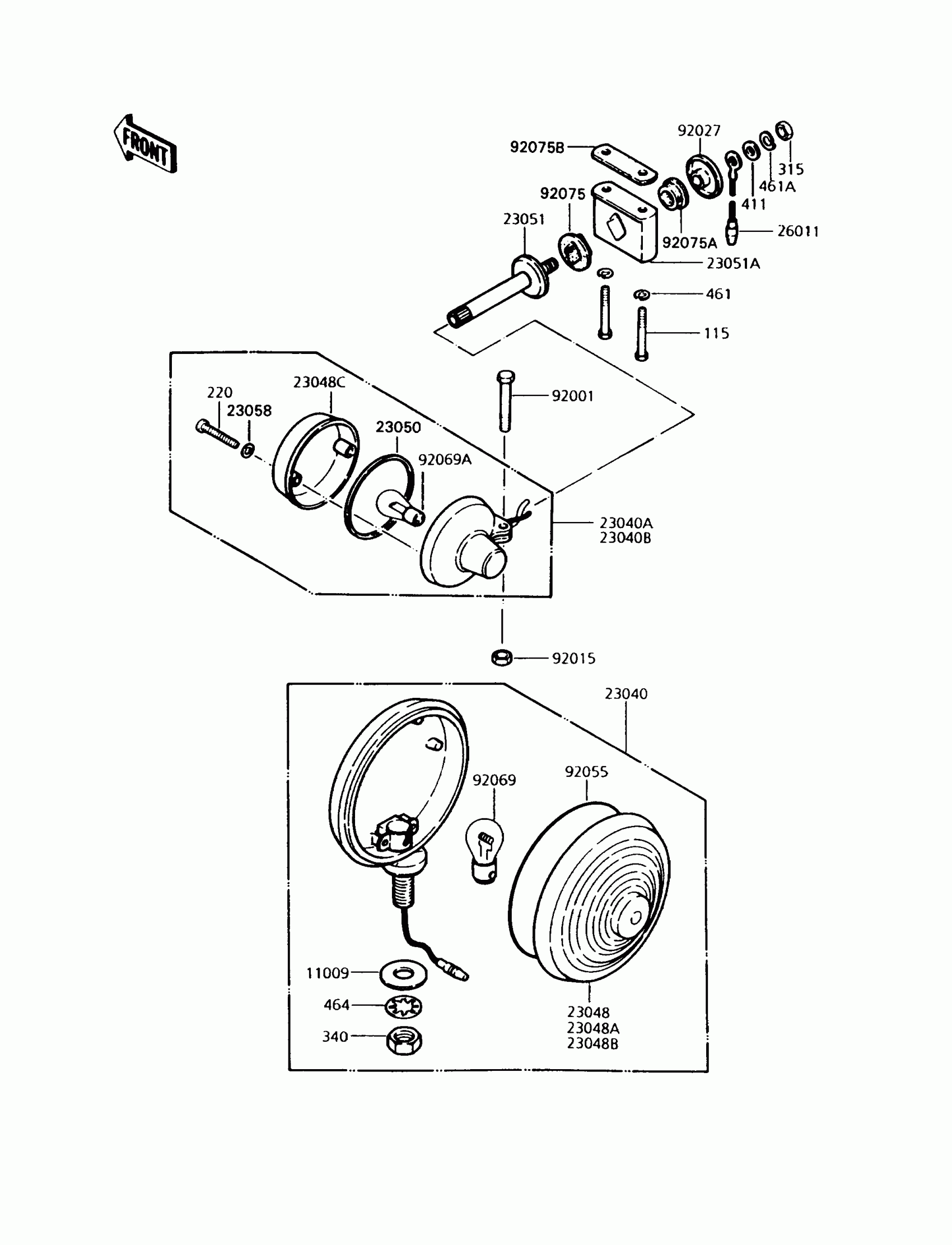
Kawasaki Police 1000 TURN SIGNALS Diagram
#
1
LAMP-SIGNAL,RH
23040-1005
Unavailable
1
LAMP-SIGNAL,LH
23040-1006
Unavailable
2
UNAVAILABLE IN PRICE BOOK
220E0435
Unavailable
2
SCREW-PAN-CROS
220R0435
Unavailable
3
WASHER,PLAIN,4MM
23058-002
Unavailable
4
LENS-SIGNAL LAMP,"6.1445"MARK
23048-1024
Unavailable
5
GASKET,TURN SIGNAL LAMP
23050-002
Unavailable
6
BULB,12V 32/3CP(23/8W)
92069-060
Unavailable
7
BOLT-UPSET
112G0630
Unavailable
7
BOLT,6X30,CR PLATED
92001-1746
Unavailable
8
WASHER PLAIN 6MM
411B0600
Unavailable
9
WASHER SPRING 6MM
461F0600
Unavailable
10
NUT 6MM
311B0600
Unavailable
10
NUT,FLANGED,6MM
92015-1078
Unavailable
11
BOLT-SMALL-UPSET
115G0855
Unavailable
11
BOLT-SMALL-UPSET
115G0855
Unavailable
12
DAMPER,TURN SIGNAL FITTING
92075-1014
Unavailable
13
COLLAR,SIGNAL LAMP
92027-1025
Unavailable
14
DAMPER RUBBER,SIG LM
92075-158
Unavailable
15
WIRE-LEAD,L=285
26011-095
Unavailable
16
WASHER-PLAIN,10MM
411B1000
Unavailable
17
WASHER SPRING 10MM
461F1000
Unavailable
18
NUT-HEX-FINE,10MM
315B1000
Unavailable
19
LAMP-SIGNAL,RR
23040-055
Unavailable
20
LENS-SIGNAL LAMP,REAR,AMBER
23048-018
Unavailable
20
LENS-SIGNAL LAMP,REAR,RED
23048-019
Unavailable
20
LENS-SIGNAL LAMP,REAR,BLUE
23048-020
Unavailable
21
RING-O
92055-103
Unavailable
22
WASHER SPRING 8MM
461F0800
Unavailable
23
GASKET OIL PIPE BANJO
92065-037
Unavailable
24
WASHER LOCK 12MM
464G1200
Unavailable
25
NUT-UNF SC,16MM
340BA1600
Unavailable
26
BULB,12V 32CP(23W)
92069-055
Unavailable
27
BRACKET-SIGNAL LAMP
23051-1014
Unavailable
28
DAMPER
92075-4022
Unavailable
29
BRACKET-SIGNAL LAMP,FR
23051-4002
Unavailable
