- Partiron
- OEM Parts
- Kawasaki
- motorcycle
- 1995
- Police 1000
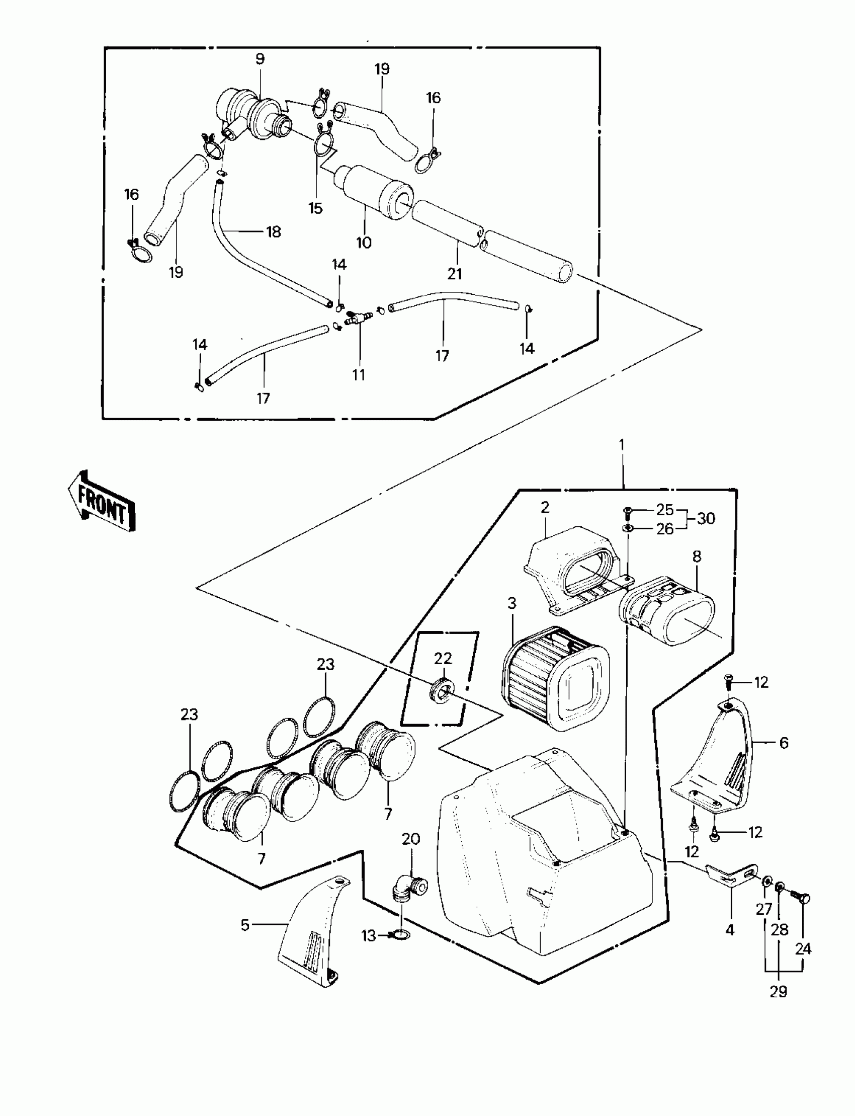
Air Cleaner
Kawasaki Police 1000 Air Cleaner Diagram
#
Description
Price
11010
FILTER-ASSY-AIR
11010-1142
Unavailable
14025A
COVER,AIR FILTER,RH
14025-1264
Unavailable
92005
FITTING,TUBE,T-TYPE
92005-1017
Unavailable
92009
SCREW,TAPPING,5X12
92009-1319
Unavailable
