- Partiron
- OEM Parts
- Honda
- MOTORCYCLE
- 2025
- PCX160AAC (25) MOTORCYCLE, VNM, VIN# RLHKF472-SY000001 TO RLHKF472-SY099999
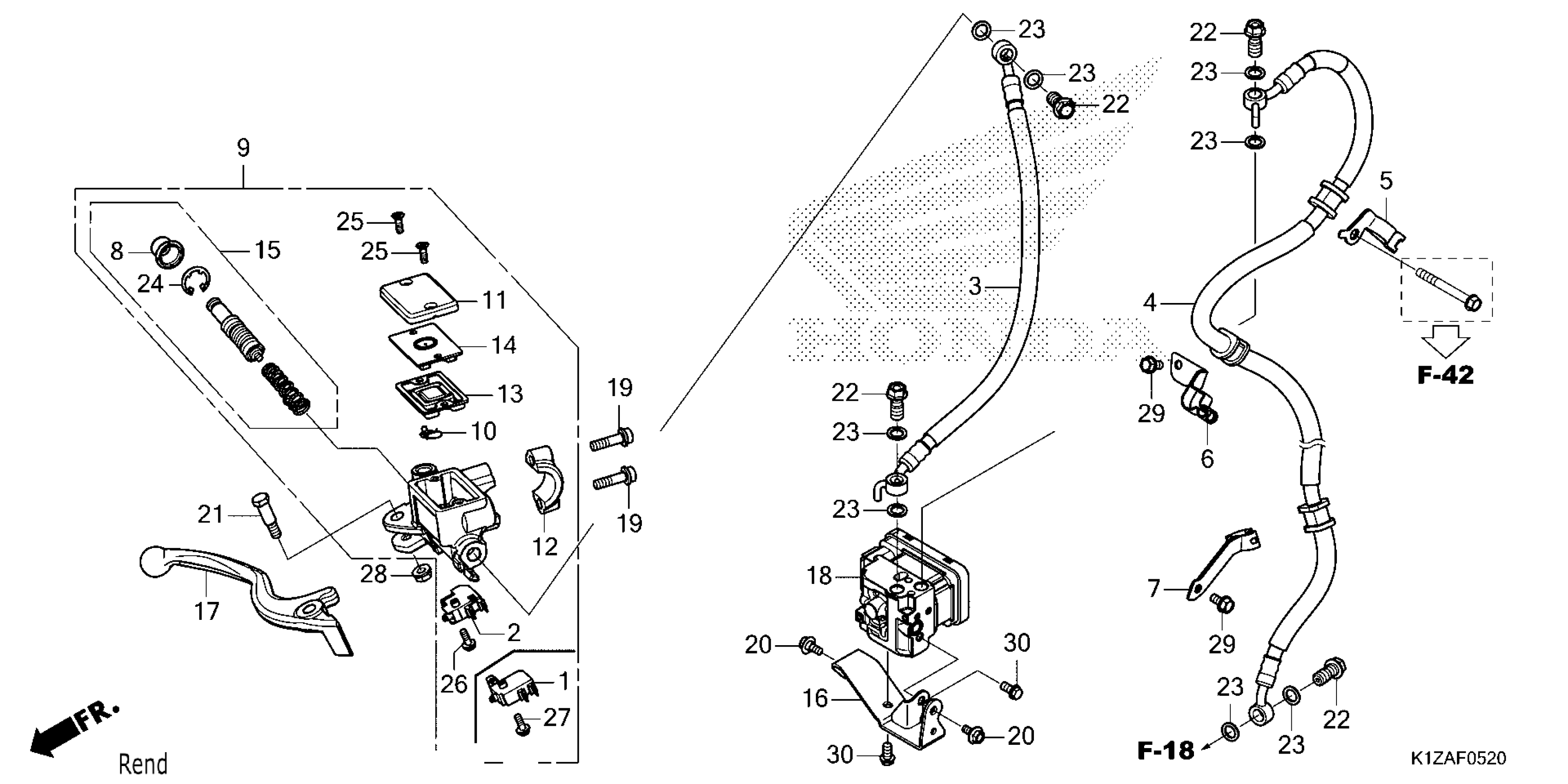
FRONT BRAKE MASTER CYLINDER
Honda PCX160AAC (25) MOTORCYCLE, VNM, VIN# RLHKF472-SY000001 TO RLHKF472-SY099999 FRONT BRAKE MASTER CYLINDER Diagram
#
Description
Price
