- Partiron
- OEM Parts
- Honda
- MOTOR SCOOTER
- 2020
- PCX150AC (20) MOTOR SCOOTER, VNM, VIN# RLHKF300-LY000001
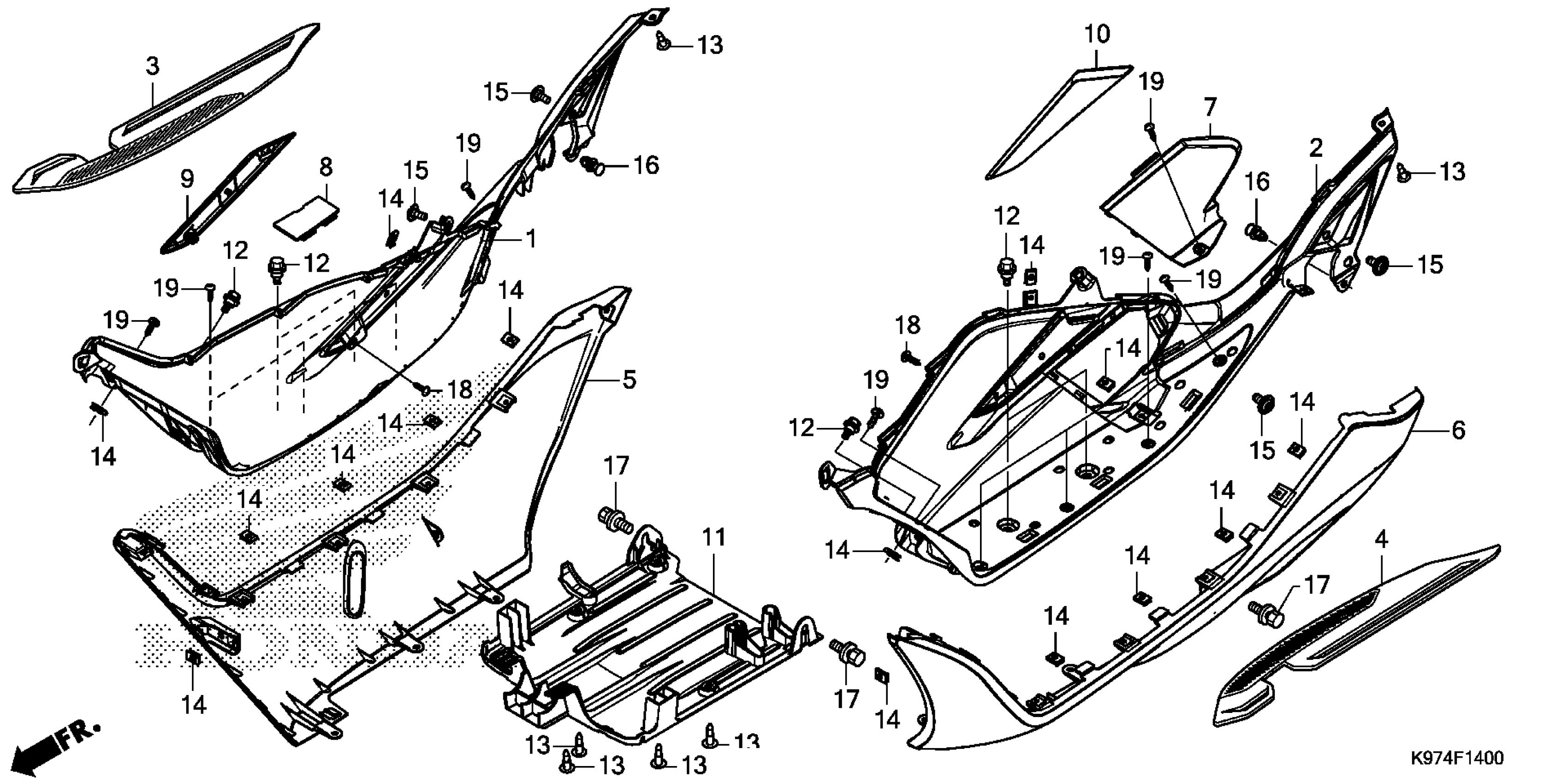
FLOOR STEP
Honda PCX150AC (20) MOTOR SCOOTER, VNM, VIN# RLHKF300-LY000001 FLOOR STEP Diagram
#
Description
Price
FLOOR STEP
#
Edit ride
