- Partiron
- OEM Parts
- Honda
- MOTOR SCOOTER
- 2013
- PCX150AC (13) PCX150, THA, VIN# MLHKF121-D5000001 TO MLHKF121-D5099999
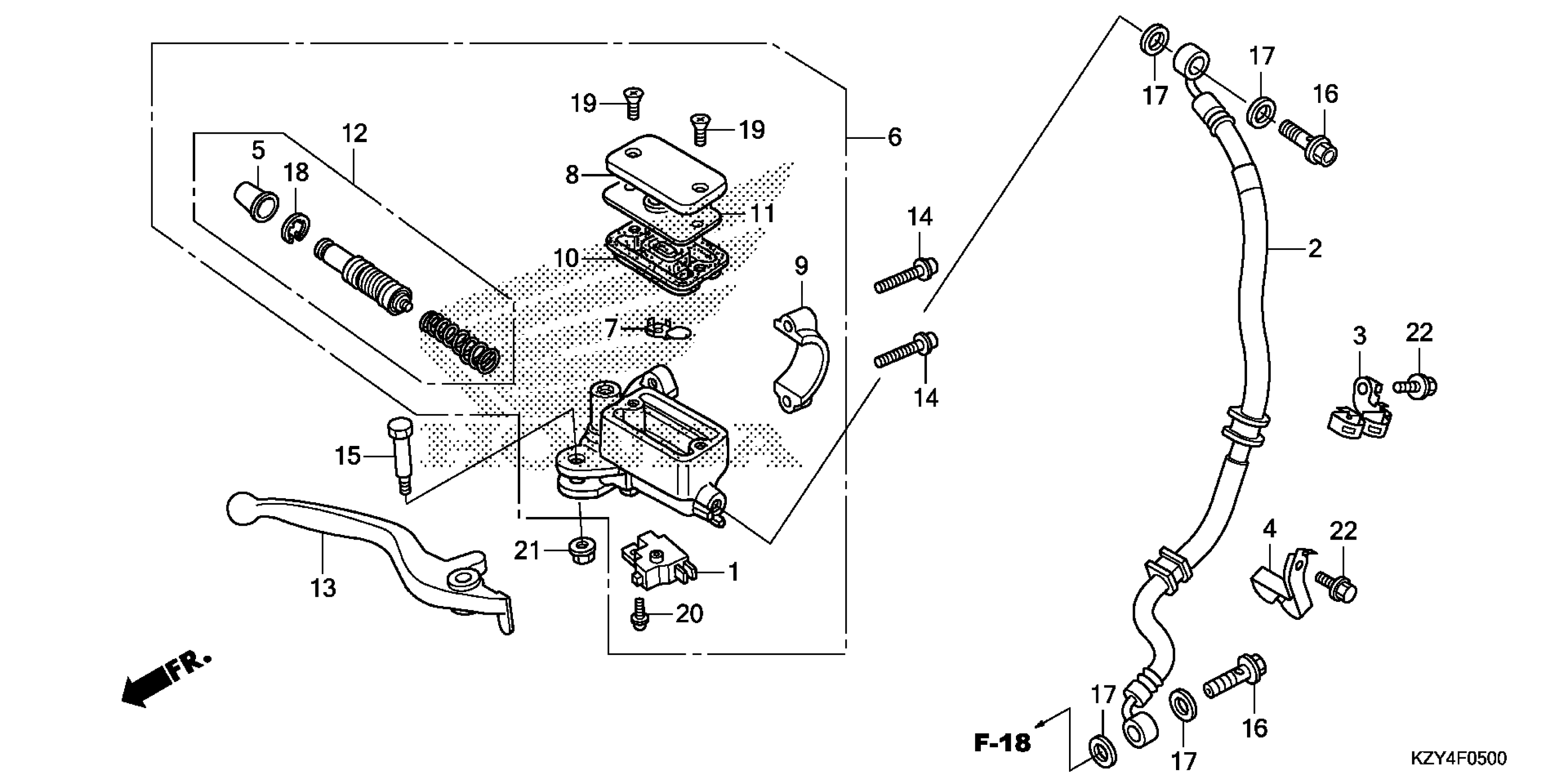
FRONT BRAKE MASTER CYLINDER
Honda PCX150AC (13) PCX150, THA, VIN# MLHKF121-D5000001 TO MLHKF121-D5099999 FRONT BRAKE MASTER CYLINDER Diagram
#
Description
Price
6
MASTER CYLINDER SUB-ASSY., FR. BRAKE (COO) (NOT AVAILABLE) | Use from Frame SN D5000005
45510-KZY-315
Unavailable
13
LEVER, R. HANDLEBAR (COO) | Use up to Frame SN D5000004 This part replaces 53175-KWN-305.
53175-KWN-315
$18.06
