- Partiron
- OEM Parts
- Honda
- MOTOR SCOOTER
- 2020
- PCX150AAC (20) MOTOR SCOOTER, VNM, VIN# RLHKF301-LY000001
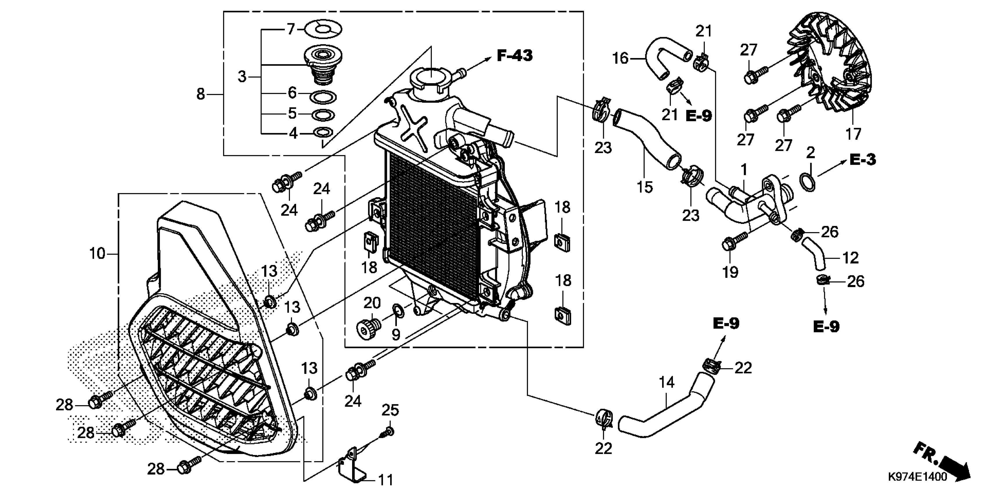
RADIATOR
Honda PCX150AAC (20) MOTOR SCOOTER, VNM, VIN# RLHKF301-LY000001 RADIATOR Diagram
#
Description
Price
RADIATOR
#
Edit ride
