- Partiron
- OEM Parts
- Polaris
- ATV
- 2017
- OUTLAW 50 (R05) - A17YAK05A4/A6
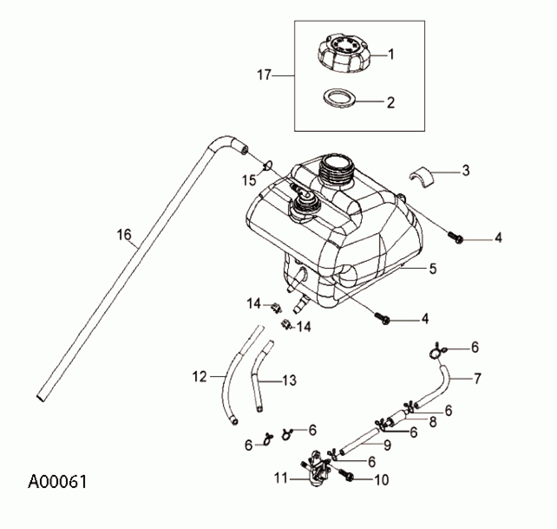
BODY, FUEL TANK and HOSES - A17YAK05A4/A6 (A00061)
Polaris OUTLAW 50 (R05) - A17YAK05A4/A6 BODY, FUEL TANK and HOSES - A17YAK05A4/A6 (A00061) Diagram
#
Description
Price
7
HOSE-FUEL,NON-PERM,110MM [110 MM]
0454026-110
Unavailable
8
FILTER-FUEL,OUTLAW
0453695
Unavailable
9
HOSE-FUEL,NON-PERM,070MM [70 MM]
0454026-070
Unavailable
15
CLAMP-HOSE
0455267
Unavailable
