- Partiron
- OEM Parts
- Honda
- MOTORCYCLE
- 1988
- NX650A (88) MOTORCYCLE, JPN, VIN# JH2RD020-JK000005 TO JH2RD020-JK001565
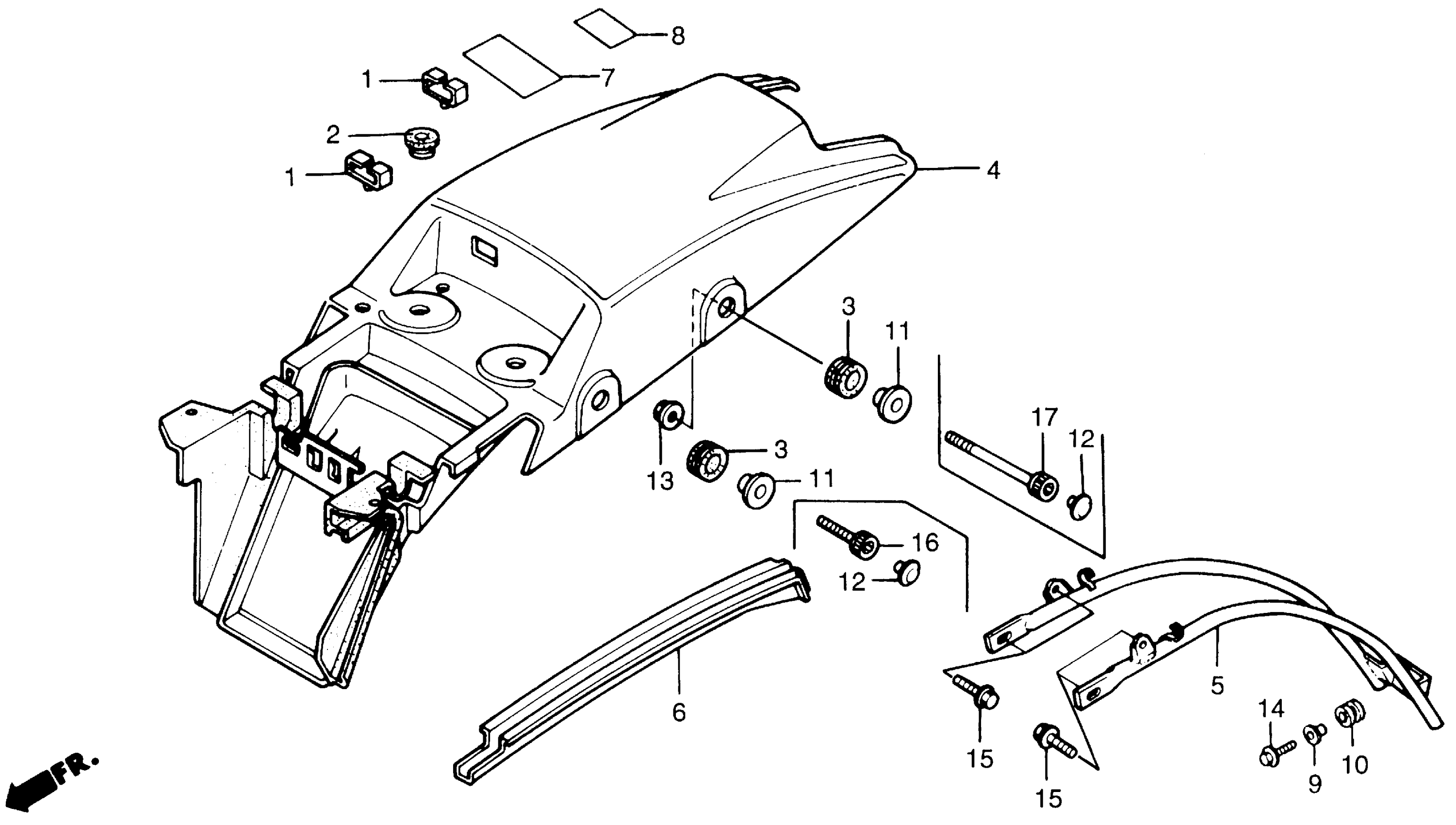
REAR FENDER
Honda NX650A (88) MOTORCYCLE, JPN, VIN# JH2RD020-JK000005 TO JH2RD020-JK001565 REAR FENDER Diagram
#
Description
Price
1
GROMMET, CABLE (NOT AVAILABLE)
32985-MG2-000
Unavailable
2
RUBBER, BATTERY BOX SETTING
50329-HA6-000
Unavailable
4
FENDER ASSY., RR. *B123MU* (ASTRO BLUE METALLIC-U)
80100-MN9-000ZE
Unavailable
5
PIPE SET, RR. FENDER SUPPORT
06800-MN9-000
Unavailable
5
PIPE SET, RR. FENDER SUPPORT This part replaces 80110-MN9-000.
06800-MN9-000
Unavailable
6
GUARD, WIRE HARNESS
80201-MN9-000
Unavailable
7
MARK, ACCESSORIES & LOADING CAUTION
87512-MM9-720
Unavailable
9
COLLAR B, AIR CLEANER HOUSING
90502-MC4-000
Unavailable
10
GROMMET B, AC CASE (NOT AVAILABLE)
90506-MC4-000
Unavailable
14
BOLT, FLANGE (6X16)
96300-06016-07
Unavailable
15
BOLT, FLANGE (8X12)
96300-08012-07
Unavailable
16
BOLT, SOCKET (8X20)
96600-08020-07
Unavailable
17
BOLT, SOCKET (8X55)
96600-08055-07
Unavailable
