- Partiron
- OEM Parts
- Honda
- MOTORCYCLE
- 1988
- NX650A (88) MOTORCYCLE, JPN, VIN# JH2RD020-JK000005 TO JH2RD020-JK001565
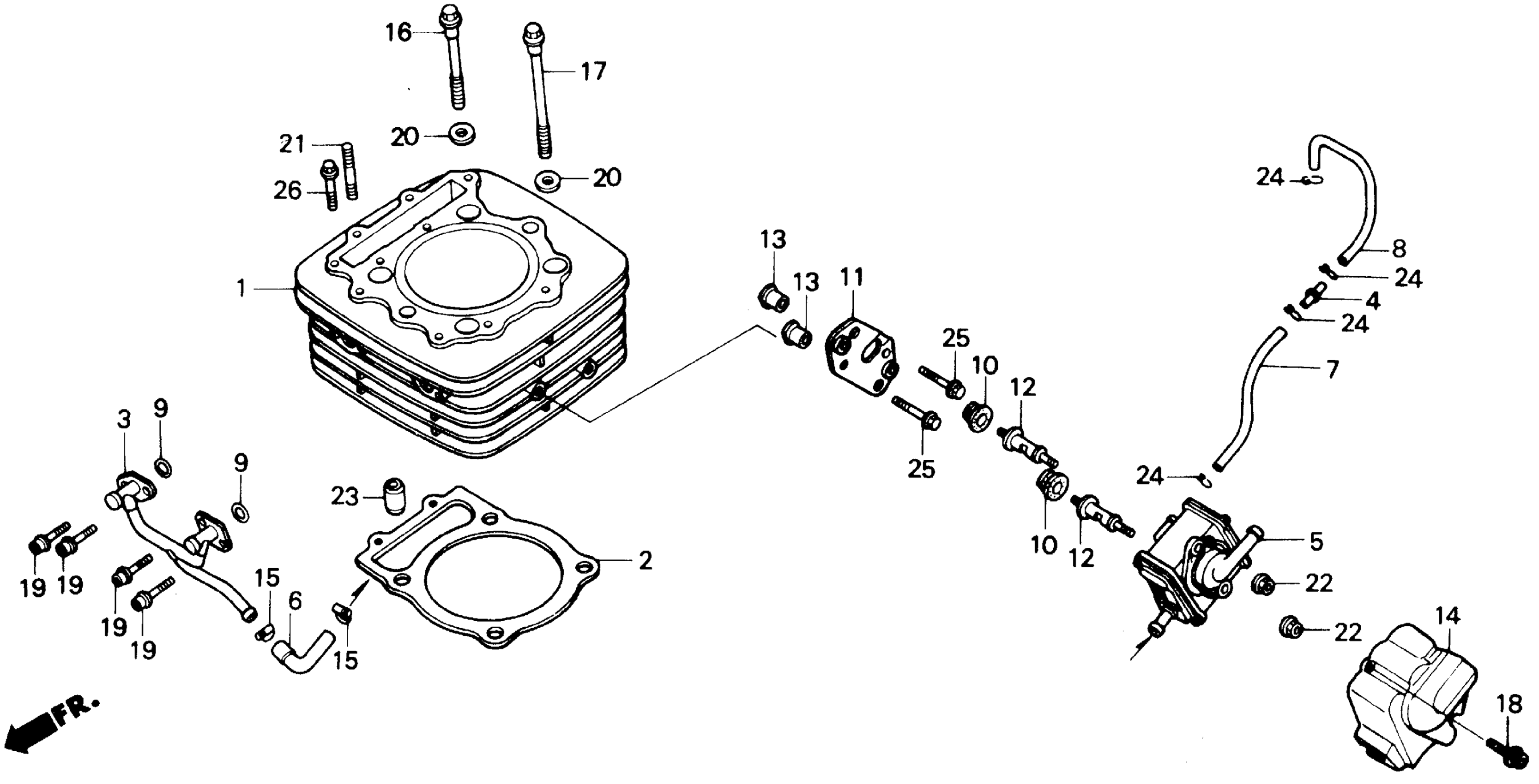
CYLINDER
Honda NX650A (88) MOTORCYCLE, JPN, VIN# JH2RD020-JK000005 TO JH2RD020-JK001565 CYLINDER Diagram
#
Description
Price
1
CYLINDER
12100-MN9-740
Unavailable
3
JOINT, TUBE
12315-MN9-740
Unavailable
5
VALVE ASSY., AIR SUCTION
18600-MN9-741
Unavailable
6
HOSE, AIR PATH
18616-MN9-740
Unavailable
11
STAY, AIR SUCTION VALVE SETTING
18710-MN9-740
Unavailable
14
COVER, AIR SUCTION VALVE
18750-MN9-740
Unavailable
