Partiron

Honda NX50MA (82) EXPRESS SR, JPN, VIN# JH2AB040-CS100002 SEAT Diagram

#

Description
Price

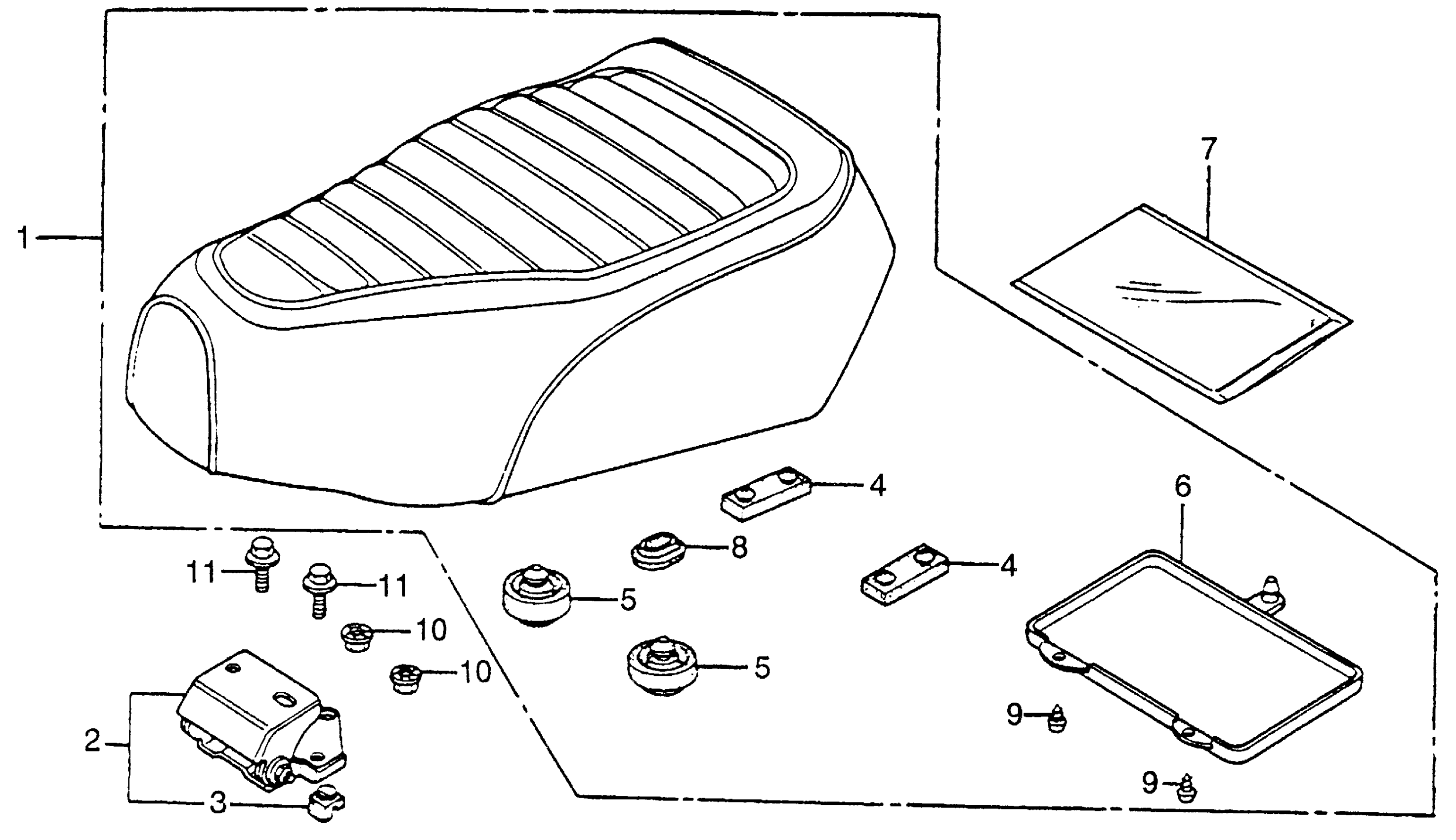
1

SEAT

77100-187-670

Unavailable

2

HINGE, SEAT (NOT AVAILABLE)

77110-187-000

Unavailable

3

RUBBER, STOPPER

77203-187-000

Unavailable

4

RUBBER, SEAT SETTING

77204-312-000

$5.05

5

RUBBER, SEAT STOPPER (NOT AVAILABLE)

77211-187-000

Unavailable

6

LID, SEAT (LOWER) (NOT AVAILABLE)

77250-342-300

Unavailable

7

BAG, SERVICE BOOK This part replaces 77251-342-000.

77251-GR1-000

$4.30

8

GROMMET, AIR CLEANER HOUSING

83551-300-000

$3.67

9

SCREW, TAPPING (5X8)

93901-25080

$1.49

10

NUT, FLANGE (6MM)

94050-06000

$1.49

11

BOLT, FLANGE (6X12) This part replaces 95700-06012-00.

95701-06012-00

$1.62

11

BOLT, FLANGE (6X12)

95701-06012-00

$1.62