- Partiron
- OEM Parts
- Honda
- MOTORCYCLE
- 1982
- NX50MA (82) EXPRESS SR, JPN, VIN# JH2AB040-CS100002
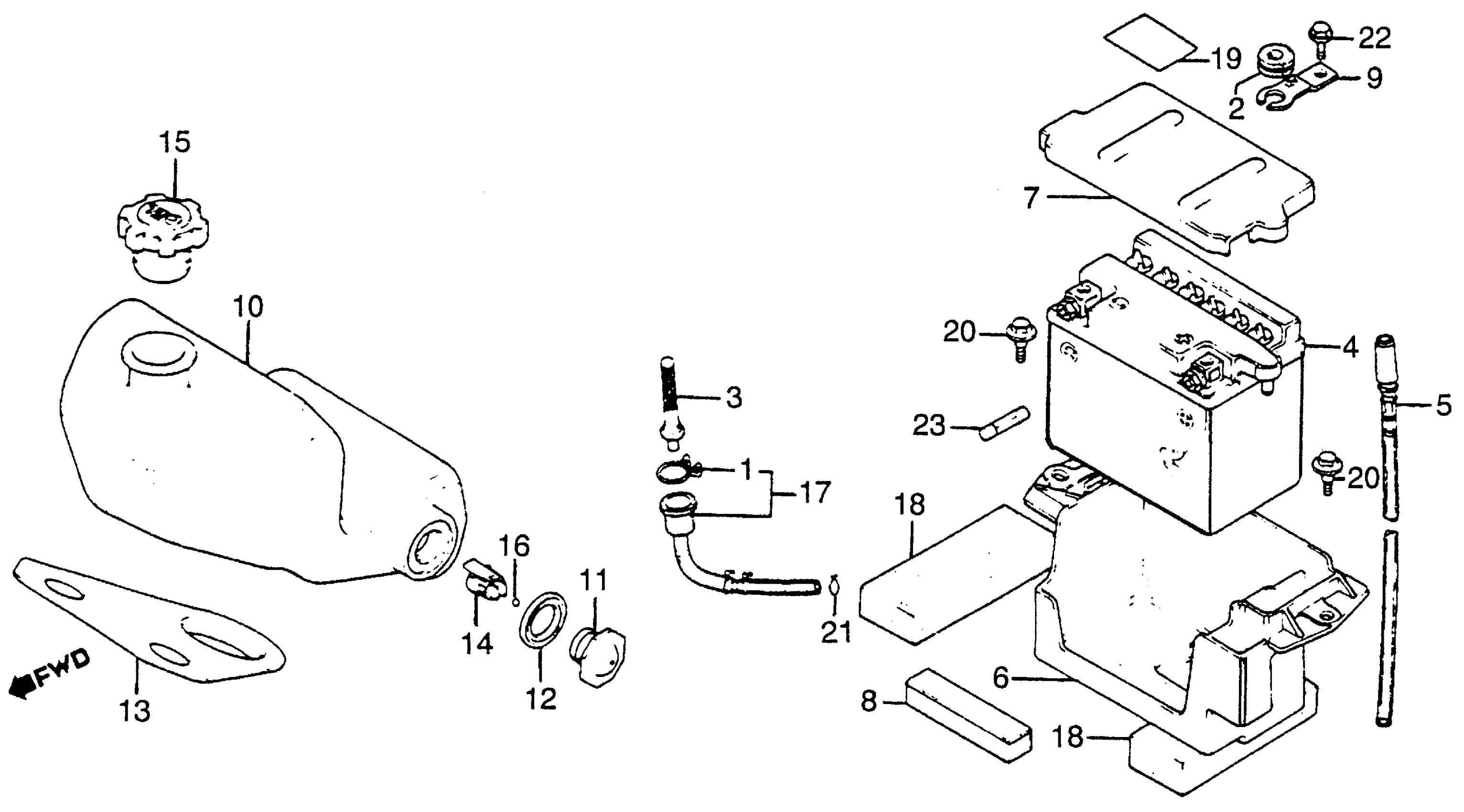
OIL TANK + BATTERY
Honda NX50MA (82) EXPRESS SR, JPN, VIN# JH2AB040-CS100002 OIL TANK + BATTERY Diagram
#
Description
Price
4
BATTERY (YB4L-B) This part replaces 31500-187-671.
31500-197-713AH
Unavailable
4
BATTERY (YB4L-B) This part replaces 31500-187-672.
31500-197-713AH
Unavailable
4
BATTERY (YB4L-B) This part replaces 31500-197-712.
31500-197-713AH
Unavailable
4
BATTERY (YB4L-B) This part replaces 31500-197-713.
31500-197-713AH
Unavailable
5
PIPE, BATTERY BREATHER (NOT AVAILABLE)
31502-187-700
Unavailable
6
BOX, BATTERY (NOT AVAILABLE)
31505-187-010
Unavailable
7
COVER, BATTERY (NOT AVAILABLE)
31506-187-700
Unavailable
8
RUBBER, BATTERY BOX (NOT AVAILABLE)
31508-187-300
Unavailable
9
PLATE, BATTERY MOUNTING (NOT AVAILABLE)
50326-187-000
Unavailable
10
TANK, OIL (NOT AVAILABLE)
55100-187-910
Unavailable
11
LEVEL, OIL TANK (NOT AVAILABLE)
55101-187-000
Unavailable
12
GASKET, LEVEL (NOT AVAILABLE)
55102-187-000
Unavailable
13
SEAT, OIL TANK (NOT AVAILABLE)
55103-187-000
Unavailable
14
GUIDE, LEVEL
55104-187-000
Unavailable
15
CAP, OIL
55105-147-000
Unavailable
16
FLOAT, OIL (NOT AVAILABLE)
55105-187-000
Unavailable
17
TUBE ASSY., OIL (NOT AVAILABLE)
55200-187-000
Unavailable
18
RUBBER, FRAME (NOT AVAILABLE)
77206-187-700
Unavailable
19
MARK, BATTERY CAUTION (NOT AVAILABLE)
87506-187-670
Unavailable
