- Partiron
- OEM Parts
- Honda
- MOTORCYCLE
- 2011
- NT700VAAC (11) NT700VA, ITA, VIN# ZDCRC595-BF010001
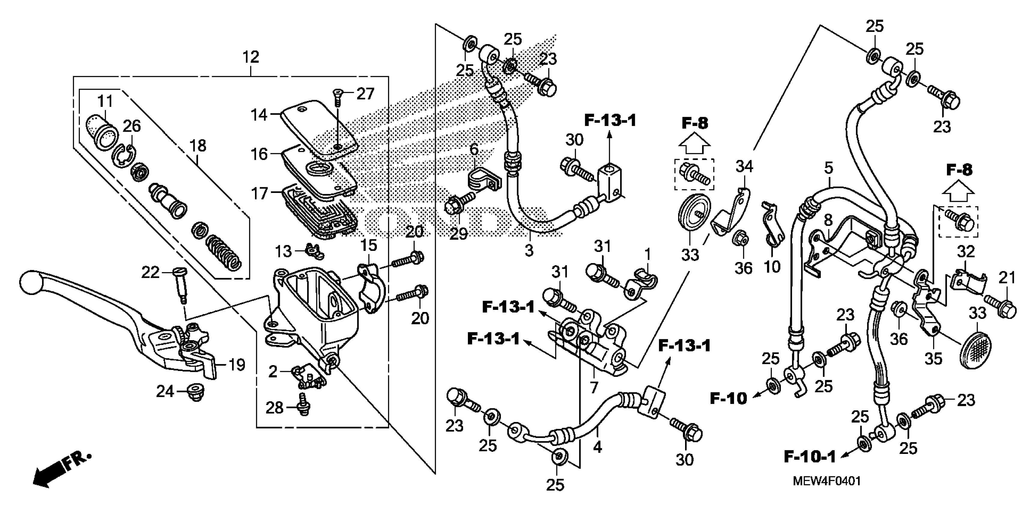
FRONT BRAKE MASTER CYLINDER (ABS)
Honda NT700VAAC (11) NT700VA, ITA, VIN# ZDCRC595-BF010001 FRONT BRAKE MASTER CYLINDER (ABS) Diagram
#
Description
Price
6
CLAMP, FR. BRAKE HOSE
45156-MEW-920
Unavailable
