- Partiron
- OEM Parts
- Honda
- MOTORCYCLE
- 2011
- NT700VAAC (11) NT700VA, ITA, VIN# ZDCRC595-BF010001
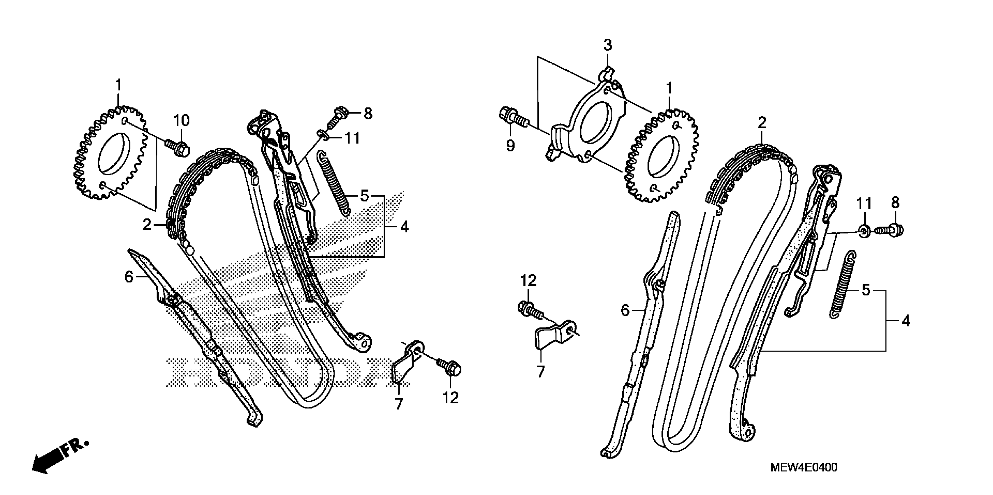
CAM CHAIN + TENSIONER
Honda NT700VAAC (11) NT700VA, ITA, VIN# ZDCRC595-BF010001 CAM CHAIN + TENSIONER Diagram
#
Description
Price
CAM CHAIN + TENSIONER
#
Edit ride
