- Partiron
- OEM Parts
- Honda
- MOTORCYCLE
- 2011
- NT700VAAC (11) NT700VA, ITA, VIN# ZDCRC595-BF010001
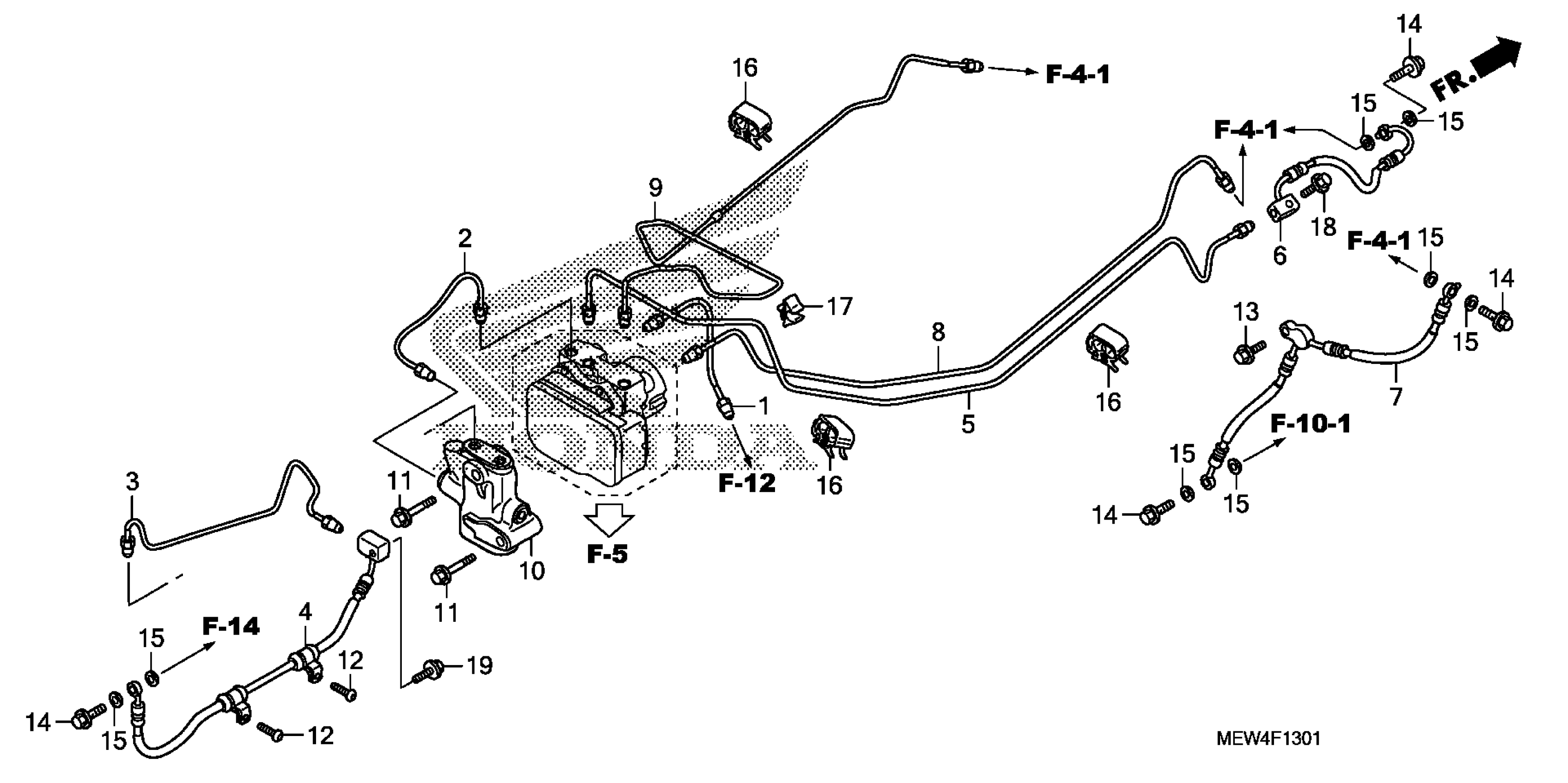
BRAKE LINES + PCV (ABS)
Honda NT700VAAC (11) NT700VA, ITA, VIN# ZDCRC595-BF010001 BRAKE LINES + PCV (ABS) Diagram
#
Description
Price
BRAKE LINES + PCV (ABS)
#
Edit ride
