- Partiron
- OEM Parts
- Honda
- MOTOR SCOOTER
- 2016
- NSS300AC (16) MOTOR SCOOTER, THA, VIN# MLHNF040-G5200001
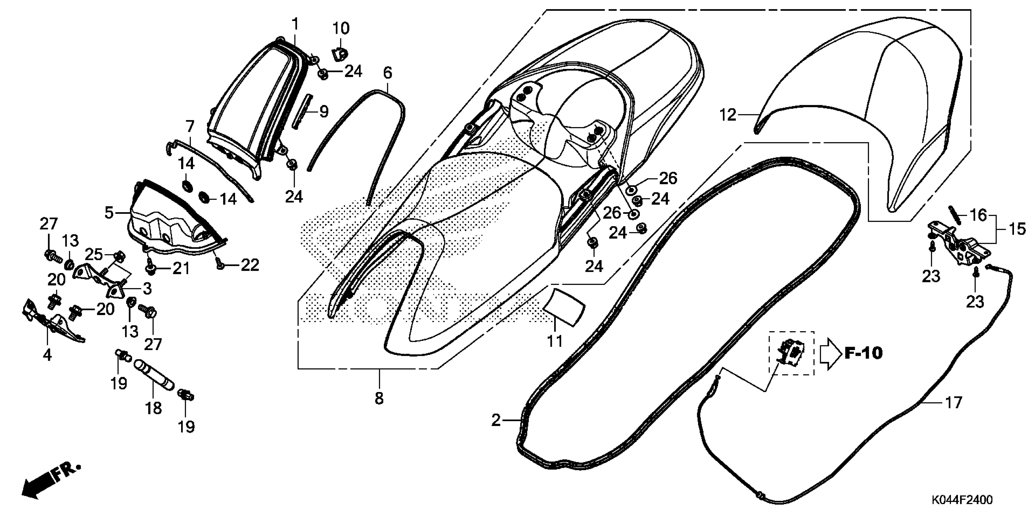
SEAT
Honda NSS300AC (16) MOTOR SCOOTER, THA, VIN# MLHNF040-G5200001 SEAT Diagram
#
Description
Price
SEAT
#
Edit ride
