- Partiron
- OEM Parts
- Honda
- MOTOR SCOOTER
- 1984
- NQ50A (84) SPREE, JPN, VIN# JH2AF060-ES000004 TO JH2AF060-ES027283
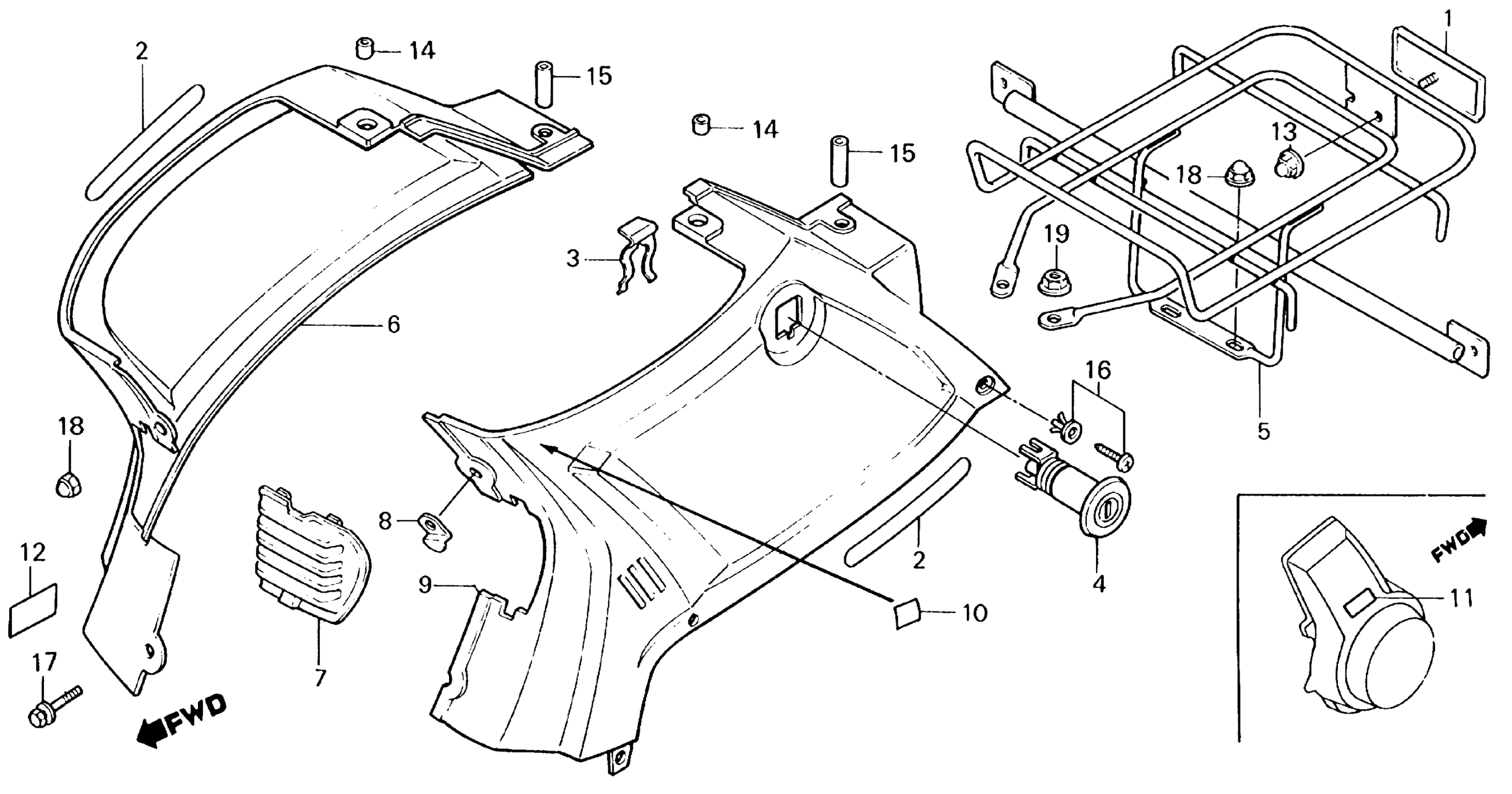
BODY COVER 84-86
Honda NQ50A (84) SPREE, JPN, VIN# JH2AF060-ES000004 TO JH2AF060-ES027283 BODY COVER 84-86 Diagram
#
Description
Price
1
REFLECTOR, REFLEX
33741-GK8-672
Unavailable
1
REFLECTOR, REFLEX This part replaces 33741-GK8-671.
33741-GK8-672
Unavailable
2
PROTECTOR B (NOT AVAILABLE)
64115-GJ6-700
Unavailable
4
LOCK ASSY., SEAT (NOT AVAILABLE)
77230-GK8-000
Unavailable
5
CARRIER, LUGGAGE (NOT AVAILABLE)
81200-GK8-670
Unavailable
6
COVER, R. BODY *NH111* (WOL) (CORTINA WHITE)
83500-GK8-670ZA
Unavailable
7
COVER, FUEL VALVE *NH11* (LIGHT GRAY) (NOT AVAILABLE)
83505-GK8-670ZA
Unavailable
7
COVER, FUEL VALVE *R127* (SPARKLING RED) (NOT AVAILABLE)
83505-GK8-670ZB
Unavailable
8
PLATE, FR. COVER (NOT AVAILABLE)
83506-GK8-670
Unavailable
9
COVER, L. BODY *NH111* (WOL) (CORTINA WHITE)
83600-GK8-670ZA
Unavailable
11
MARK, MAINTENANCE CAUTION (WHITE)
87542-GA7-600
Unavailable
14
COLLAR (6MM)
90311-GJ6-000
Unavailable
