- Partiron
- OEM Parts
- Polaris
- ATV
- 1994
- NORWEGIAN 400L 6X6 - N948740
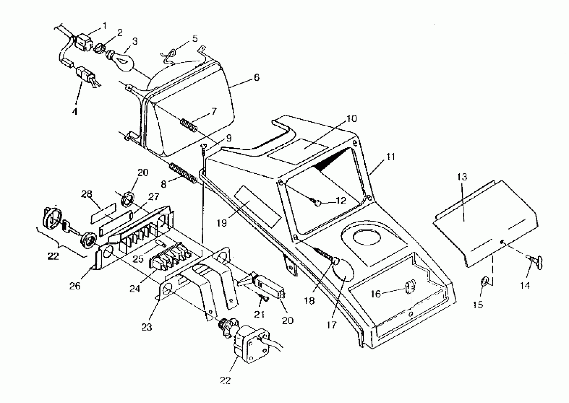
HEADLIGHT ASSEMBLY 6x6 400L, SWEDISH S948740 and NORWEGIAN N948740 (4926812681011A)
Polaris NORWEGIAN 400L 6X6 - N948740 HEADLIGHT ASSEMBLY 6x6 400L, SWEDISH S948740 and NORWEGIAN N948740 (4926812681011A) Diagram
#
Description
Price
1
HARNESS, HEADLIGHT
2460424
Unavailable
2
COVER,SOCKET,H/L.
4032066
Unavailable
5
RETAINER,H/L BULB
4032063
Unavailable
6
H/L ASM,W/BULBSEAL
4032065
Unavailable
7
SPRING-ADJ
4032002
Unavailable
8
SPRING,ADJ.
4032041
Unavailable
10
DECAL,CERTIF,(6-WHL.)
7074199
Unavailable
11
COVER,OIL TANK&H/L
5431202-132
Unavailable
12
SCREW, ADJ.(10)
4032003
Unavailable
13
DOOR,ACCESS,GRAY,STG.
5431201-132
Unavailable
17
LOGO,"40 YEARS"
7074695
Unavailable
18
SCREW,ADJUST,(ATV)(10)
4032042
Unavailable
19
Decal - "Polaris", Side Panel (See Pg. A6, Ref. 1)
-------
Unavailable
23
BRKT, IGN. PANEL
5220965-067
Unavailable
25
BULB
4030042
Unavailable
26
PANEL, IGNITION
5430995
Unavailable
27
LENS ASM,PILOT LIGHT (Incl. 28)
2652049
Unavailable
28
DECAL, PANEL [No Longer Available] Note: Ignition key may be ordered by using the 4 digit number on the key.
7072528
Unavailable
