- Partiron
- OEM Parts
- Polaris
- ATV
- 1994
- NORWEGIAN 400L 6X6 - N948740
COOLING SYSTEM 6x6 400L, SWEDISH S948740 and NORWEGIAN N948740 (4926812681007A)
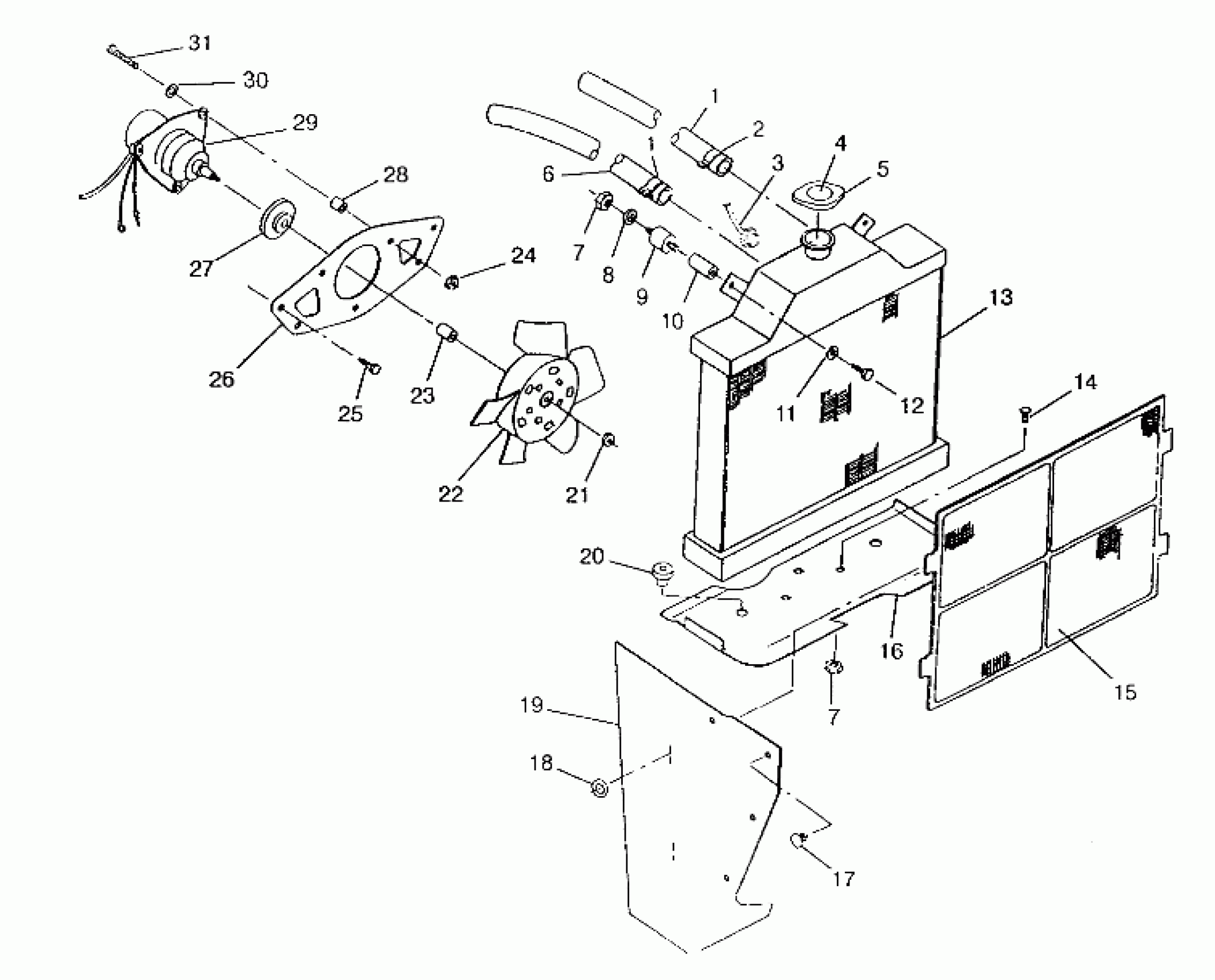
Polaris NORWEGIAN 400L 6X6 - N948740 COOLING SYSTEM 6x6 400L, SWEDISH S948740 and NORWEGIAN N948740 (4926812681007A) Diagram
#
Description
Price
2
CLAMP-HOSE Substituted by 7080547
7080225
Unavailable
3
SWITCH,RADIATOR THERMO.
4110099
Unavailable
4
DECAL(CPSC),RAD.CAP
7073068
Unavailable
5
CAP, RADIATOR Substituted by 2511270
2511189
Unavailable
13
RADIATOR
1240006
Unavailable
15
COVER,RADIATOR,W/MESH
5431610
Unavailable
16
GUARD,LOW.RADIATOR
5222547-067
Unavailable
19
SHIELD,LH RADIATOR
5431188
Unavailable
19
SHIELD,RH RADIATOR
5431189
Unavailable
21
Nut, Flange (See Pg. A57, Ref. 1)
-------
Unavailable
23
Bushing (See Pg. A57, Ref. 2)
-------
Unavailable
24
NUT(10)
7541915
Unavailable
25
SCREW(10)
7512252
Unavailable
26
BRKT,COOLING FAN Substituted by 5224741-067
5222559-067
Unavailable
27
Washer, Cup (See Pg. A57, Ref. 3)
-------
Unavailable
29
Asm., Fan Motor (See Pg. A57, Ref. 4)
-------
Unavailable
31
SCREW(10)
7511874
Unavailable
